深之蓝参与编制的国家标准——《淡水水下搜救机器人通用技术条件》获批发布
2025-09-08 18:23:10AI云资讯2174
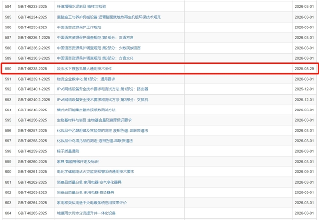
根据中国国家标准化管理委员会国标委发2025年第21号文件:关于批准发布《包装储运图形符号标志》等622项推荐性国家标准和6项推荐性国家标准修改单的公告,深之蓝海洋科技股份有限公司参与编写的国家标准GB/T 46238—2025《淡水水下搜救机器人通用技术条件》于2025年8月29日正式获批发布。



淡水水下搜救机器人技术作为一种先进、有效的淡水应急救援技术,能够替代救援人员进入淡水水域灾害现场实施生命搜索和救援。但是,由于缺乏相应的性能设计要求或技术指标规范,造成淡水水下搜救机器人产品功能与应用需求具有较大差距。
该项国家标准是国际上首个用于水下救援的特种机器人通用标准,能够解决淡水水下搜救装备科技发展中规范和保障淡水水下搜救机器人装备实用、有效,为淡水水下搜救机器人的设计、制造、检验提供科学、合理和先进指导,推进淡水水下搜救机器人的研发、成果转化和应用推广,促进我国淡水水下搜救机器人装备的高质量发展,增加淡水水下搜救高端装备的有效供给,减少灾难给生命和财产带来的损失,具有重要的经济和社会效益。

深之蓝聚焦水下智能装备前沿研发,设有博士后工作站、天津市水下智能无人系统企业重点实验室,获得专利400余项,向用户提供缆控水下机器人(ROV)、自主水下航行器(AUV)、自动剖面浮标、水下助推机器人等水下智能装备和产品,其中,缆控水下机器人已多次应用于水下搜救任务,得到了国家层面的高度认可。

▲重庆万州落水公交车搜寻

▲唐山潘家口水库失联潜水员搜救

▲广西都安130米大深度搜救失联潜水员
国家标准的制定,不仅是深之蓝海洋科技股份有限公司聚焦深海科技的探索创新、提高自身技术水平和集成能力的体现,也是标准化工作在助力民营企业高质量发展过程中的具体实践。深之蓝将以此为契机,以“探索水下新世界,为人类水下资源的开发保驾护航”为使命,基于多年技术创新和产品创新的丰富经验,依托“科学规划、统筹推进、急用先行”的标准化发展战略,为引领水下智能装备行业持续健康发展做出不竭的努力和贡献。
相关文章
- 来福谐波加码大负载精密传动,58 型产品瞄准重载协作机器人关节
- 一脑多形,智赋AI产业链 | 艾利特Centaur-G1轮式人形机器人正式发布
- 重磅发布!|量子智能高防爆等级四轮足机器人全球首发
- 五度斩获机器人界“奥斯卡”!极智嘉具身智能技术跻身全球第一梯队
- 短途出行机器人QUORRA X5出海订单覆盖欧美,头部资本加持正奇未来布局全球
- 远也科技助力安踏“人工肌腱”:机器人技术加速运动装备智能化升级
- 2025人形机器人行业报告:宇树出货量与市场占比双第一
- 菲沃泰亮相2026杭州国际人形机器人展:纳米镀膜技术赋能机器人全场景防护
- 以“手”驭智,拾玥科技亮相2026杭州人形机器人展,指尖黑科技破局精细操作难题
- 追觅AURORA用“机器人思维”重塑手机:打造主动AI终端
- 灵童机器人发布新一代桌面人形机器人 启动1000台全球共创计划
- 珞石机器人亮相CIBF2026深圳电池展,共启锂电智造新未来
- 灵初智能的技术路线:让机器人从“完成动作”走向“理解任务”
- 以技术破局,智领全球丨高仙商用清洁机器人登顶全球
- 千觉机器人亮相第七届上海创新创业青年50人论坛,以触觉智能展现硬科技创业力量
- 欣旺达携手海柔创新,以仓储机器人实现锂电制造产仓一体化
人工智能企业
更多>>人工智能硬件
更多>>人工智能产业
更多>>人工智能技术
更多>>- Twinkle x昇腾,率先实现Deepseek-V4系列模型高效训练
- 高德发布鸿蒙首个生成式 UI 开源框架 AGenUI,告别传统 UI 开发模式
- 发布即适配| 天数智芯全力支持腾讯混元Hy3 preview 开源落地,共推国内大模型产业普惠
- Seedance 2.0面向企业公测,豆包大模型日均Token使用量突破120万亿
- 端到端OCR模型第一!百度千帆Qianfan-OCR正式发布
- 云知声Unisound U1-OCR大模型发布!首个工业级文档智能基础大模型,开启OCR 3.0时代
- 基石智算上线 MiniMax M2.5,超强编程与智能体工具调用能力
- 昇腾原生支持,科学多模态大模型Intern-S1-Pro正式发布并开源









