苹果可折叠iPhone专利曝光:柔性屏幕设计独特
2020-07-06 08:17:46AI云资讯934
7月6日消息据 Seekdevice 报道,近日一项苹果最新可折叠 iPhone 专利曝光:其采用了一种十分独特的柔性屏幕设计来解决折叠问题。
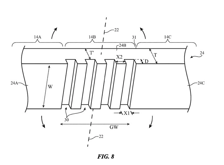
苹果公司计划在玻璃内部切出一系列凹槽,这将使玻璃拥有高度灵活性,这一过程在木材中称为刻缝,同时这些凹槽被用与玻璃具有相同折射率的弹性体聚合物或流体所填充,而显示屏的其余部分将是正常的。


专利内容如下:
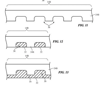
·电子设备具有铰链式的折叠结构,允许设备绕轴折叠。显示屏可能与弯曲轴重叠。
·显示器可能具有一层或多层结构,例如具有凹槽或相应的覆盖层。显示器覆盖层可以由玻璃或其他透明材料形成。凹槽可以在显示层中形成柔性部分,该柔性部分允许显示层的玻璃或其他透明材料绕弯曲轴弯曲。
·凹槽可以被聚合物或其他材料填充。显示层可以拥有填充液体的开口,在由柔性玻璃或聚合物结构组成的显示层中可以用具有与玻璃或聚合物结构折射率匹配的材料填充相应的凹槽。
·被分开的刚性平面层间隙可形成铰链。刚性平面层可以是显示器中的玻璃层或其他透明层,或者可以是电子设备的壳体壁或其他结构部分。与刚性平面层的相对表面齐平的柔性层也可被用于跨越间隙从而形成铰链。
从专利来看,苹果公司通过使用柔软材料在机械上实现可折叠并不太复杂,但这种方法对制造要求更高。
有台媒称苹果最快在 2021 年推出折叠 iPhone。
相关文章
- 苹果同意铠侠提出的NAND闪存两倍价格的条款,iPhone定价将面临压力
- 苹果全面改造Siri频频受阻,部分功能或将延迟发布
- 法拉利首款电动车将由前苹果首席设计师乔尼·艾维设计内饰
- 三星显示拟扩大对苹果可折叠OLED产能的投资,为iPhone Flip推出做准备
- 苹果iPhone 17e或将2月19日发布,搭载M5 Pro与M5 Max芯片的MacBook Pro预计3月初亮相
- 苹果为旗下编程工具接入Anthropic和OpenAI智能体功能
- 苹果M5 Pro与M5 Max芯片将采用台积电SoIC-MH封装技术
- 苹果M6芯片或将继续采用N2制程工艺,以控制制造成本
- 鉴于散热性能问题,苹果iPhone芯片采用英特尔先进制程可能性几乎为零
- 苹果计划研发采用翻盖设计的iPhone Flip,拓展折叠屏手机产品线
- 苹果Siri团队高层主管及4名AI研究员离职 人才流失再度加剧
- 苹果史上第二大交易:将以20亿美元收购音频初创公司Q.ai
- 苹果2026财年第一季度总营收1438亿美元,其中iPhone营收达853亿美元
- 苹果计划与SpaceX合作,为iPhone 18 Pro系列添加星链直连卫星功能
- 苹果与DRAM供应商的长期协议到期,iPhone 18系列产品或将涨价
- 苹果iPhone Air在中国销量仅20万台,而iPhone 17系列已达1700万台
人工智能企业
更多>>人工智能硬件
更多>>人工智能产业
更多>>人工智能技术
更多>>- 云知声Unisound U1-OCR大模型发布!首个工业级文档智能基础大模型,开启OCR 3.0时代
- 基石智算上线 MiniMax M2.5,超强编程与智能体工具调用能力
- 昇腾原生支持,科学多模态大模型Intern-S1-Pro正式发布并开源
- 百度千帆深度研究Agent登顶权威评测榜单DeepResearch Bench
- 在MoltBot/ClawdBot,火山方舟模型服务助力开发者畅享模型自由
- 教程 | OpenCode调用基石智算大模型,AI 编程效率翻倍
- 全国首个!上海上线规划资源AI大模型,商汤大装置让城市治理“更聪明”
- 昇思人工智能框架峰会 | 昇思MindSpore MoE模型性能优化方案,提升训练性能15%+









