苹果正评估新的键盘机制 未来MacBook将变得更薄
2019-09-25 13:55:19AI云资讯1022
美国专利商标局公布了一项苹果新专利,名为“厚度减小的键盘组件和形成键盘组件的方法”,这项专利显示,苹果试图进一步减少笔记本电脑键盘厚度,同时修正蝴蝶键盘带来的各种问题。
这也意味着未来苹果笔记本电脑可以通过使用更纤薄的键盘变得更薄,方法是将目前的蝴蝶机制换成一个按键位置更靠近电路板的键盘机制,从而缩短键程,减少键盘制造所需的材料。

苹果申请键盘新专利

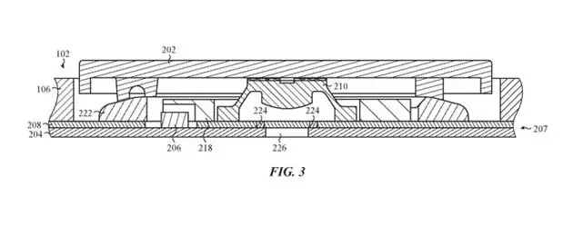
堆叠底部的PCB 有用于膜,开关机构和键帽的层。
在苹果提交的文件中,该公司建议使用一块直接粘贴在印刷电路板(PCB)上的薄膜。开关外壳可以选择性地直接固定在薄膜或PCB上,圆顶开关直接耦合在薄膜顶部。通常,薄膜不附着在PCB上,而是用于帮助简化连接,从而触发按键。通过将膜完全附着在PCB上,可以消除空间浪费,并使各个组件靠得更近。

圆顶开关夹在PCB和薄膜之间的示例
苹果公司还认为,通过将开关直接连接到薄膜,可以更轻松地安装开关,从而减少组装时间。为了进行电连接,薄膜可以由一系列基本上柔性的导电材料构成的膜垫组成,薄膜也可以使用导电粘合剂附着到PCB上,一旦干燥就可以正常工作。
苹果这项专利并不限于现有的蝶形系统。苹果公司认为它适合任何铰链机构,苹果在专利当中列举了V形铰链,剪式铰链,伸缩式铰链和滑动铰链机构作为示例。苹果每周都会提交大量专利申请,但不能保证这些概念会在将来的产品或服务中出现。
苹果有可能在10月单独为Mac举行新品发布会,届时我们也将看到全新的MacBook Pro发布。
相关文章
- 苹果 MacBook Air 展示国产游戏《异环》,M5 芯片运行开放世界画面
- 苹果发布入门级笔记本电脑MacBook Neo,起售价4599元
- 苹果发布M5 Pro和M5 Max芯片:18核处理器采用融合架构
- 苹果发布搭载M5芯片的MacBook Air及升级版MacBook Pro
- 苹果发布搭载M4处理器的新款iPad Air:无线连接能力增强
- 苹果发布iPhone 17e:售价4499元起,3月11日开始发售
- 苹果零售店即将迎来抢购热潮:低价MacBook、iPhone 17e以及新版iPad即将登场
- 苹果CEO库克暗示3月2日将举行新品发布会
- 苹果同意铠侠提出的NAND闪存两倍价格的条款,iPhone定价将面临压力
- 苹果全面改造Siri频频受阻,部分功能或将延迟发布
- 法拉利首款电动车将由前苹果首席设计师乔尼·艾维设计内饰
- 三星显示拟扩大对苹果可折叠OLED产能的投资,为iPhone Flip推出做准备
- 苹果iPhone 17e或将2月19日发布,搭载M5 Pro与M5 Max芯片的MacBook Pro预计3月初亮相
- 苹果为旗下编程工具接入Anthropic和OpenAI智能体功能
- 苹果M5 Pro与M5 Max芯片将采用台积电SoIC-MH封装技术
- 苹果M6芯片或将继续采用N2制程工艺,以控制制造成本
人工智能企业
更多>>人工智能硬件
更多>>人工智能产业
更多>>人工智能技术
更多>>- 云知声Unisound U1-OCR大模型发布!首个工业级文档智能基础大模型,开启OCR 3.0时代
- 基石智算上线 MiniMax M2.5,超强编程与智能体工具调用能力
- 昇腾原生支持,科学多模态大模型Intern-S1-Pro正式发布并开源
- 百度千帆深度研究Agent登顶权威评测榜单DeepResearch Bench
- 在MoltBot/ClawdBot,火山方舟模型服务助力开发者畅享模型自由
- 教程 | OpenCode调用基石智算大模型,AI 编程效率翻倍
- 全国首个!上海上线规划资源AI大模型,商汤大装置让城市治理“更聪明”
- 昇思人工智能框架峰会 | 昇思MindSpore MoE模型性能优化方案,提升训练性能15%+









