看完88个专利,我开始仰望华为折叠屏的远大前程
2021-02-19 14:28:54AI云资讯1519
2020年,折叠屏迎来发布高潮,三星推出了第二代Galaxy Z Flip,柔宇科技带来了FlexPai 2,OPPO还拿出了自己的伸缩卷轴概念机OPPO X 2021。根据目前消息,2021年至少有八款折叠屏手机确认发布,主流厂商全部都有新品推出。2021年折叠屏手机将迎来大爆发。

当然,提到折叠屏,华为始终是个绕不开的品牌。华为用两代成熟的产品MateX、MateXs在折叠屏市场占据了十分重要的位置。而在集中搜集华为近90项折叠屏相关专利后,我发现华为在折叠屏上有更加巨大的野心。那么在折叠屏即将爆发的时代,华为将有哪些布局?
首先在形态上,还记得MateX在刚诞生时,给我们带来的极大震撼。而这次,我在这些专利中则看到了更加丰富多彩的折叠方案,极大地拓宽了我对折叠屏的想像,我挑了6个有代表性的给你们看看。

这个外观设计专利公布于2020年7月,是华为的上下翻折方案,从示意图可以看出机身十分纤薄,正面为一整块屏幕,似乎没有留出前置摄像头的空间,难道会采用屏下摄像头?

这个专利的折叠屏方案的设计尺寸基本与现在最新的Mate Xs基本保持一致,展开后,约为两部普通手机并排大小。不同的是,它将采用向内弯折的方式来实现折叠,一定程度上保护了昂贵的可折叠屏幕。
为了解决内折后,内侧大屏无法使用的问题。折叠后,这款产品在背板也安装了屏幕,还留出了前置摄像头的挖孔。合上之后也可以当一台正常手机使用。
这项专利中出现的摄像头也十分值得关注,摄像矩阵中推测有可能采用P40上的潜望式超长焦镜头。

这个我猜测是面向专业市场的折叠屏,同样采用内折方案,但是有两个亮点,一个是设计了一支手写笔,并在手机左侧预留了孔放笔。另一个是在左侧边增加了类似Macbook pro touch bar 的交互界面,可以作为辅助设计,在设计时更方便的交互。

这个专利同样是华为的上下翻折方案,但从手机顶部的圆柱看,这个手机应该是主打极致纤薄的产品。为了达到机身足够薄,将一些模组集中移到手机顶部。虽然这个只是草图,但是仍然能看出十分前卫的时尚设计。

这项专利公布于2020年4月,似乎是华为伸缩卷轴屏的方案,充分利用了柔性屏的特性,收缩状态时,屏幕覆盖手机前后两侧。手机右侧有伸缩机构,拉出伸缩机构时,后盖部分的屏幕沿着轴转到前面,主屏幕随之变大。颇有当年一代黑科技诺基亚N97侧翻盖的感觉。

这个专利同样是内折,但值得注意的是,折叠后,这款产品在背板有摄像头一面,也出现了屏幕。能够发现一侧并没有边框,而变为了屏幕的一部分。
这意味着,这台折叠屏手机实际上和侧滑式的折叠屏一样,都采用了一整块超大屏幕。只不过这个屏幕是固定在手机上的,不仅在中间可以折叠,而且屏幕沿着边框角度做了弯曲,延伸到手机的另一侧,也就是折叠后的手机正面屏幕。等于用一块屏幕实现双面使用。
除了产品形态的创新,华为还不断在探索折叠屏的玩法,一些专利给我们带来了一些有意思的交互形态

这个专利是保证折叠屏在横竖切换时,UI也随之切换,如果折叠屏处于横屏状态,界面也随之切换,专利中还举例了一个应用场景,横屏展开时,手机可以变成一个虚拟钱包,左边是银行卡,右边是支付码,十分方便。

这个专利里显示的交互十分有创意。当折叠屏处于半折叠形态时, 折叠屏一面显示地图,另一面镜像的导航信息。这样,镜像的导航信息投影到车辆的挡风玻璃上,在挡风玻璃上呈现正向的导航信息,让驾驶人的目光聚焦在前方,并可以同时观看到正向的地图信息和正向的导航信息。

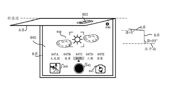
这个专利显示的交互可以提升折叠屏的拍照体验,当该折叠屏处于展开形态时,该电子设备在该折叠屏上全屏显示第一应用的第一界面;该第一界面包括摄像头捕捉到的画面;在检测到该折叠屏由该展开形态转变为半折叠形态时,折叠屏在该第一屏上显示第二界面。这样,可以方便用户解放双手,不用双手握稳电子设备,即可进行拍照、视频通话或直播等。

这个专利很好看懂,就是把折叠屏变成了我们童年玩的街机,上面屏幕,下面操控台。可以畅快搓大招了。
最后的最后,我还发现了一个超级黑科技,你以为屏幕只能硬邦邦的拿在手里?华为这个专利可是真的牛逼!

华这项新专利构想了一个屏幕"可直可弯"的电子设备。什么意思呢?就是说这个产品的屏幕是柔软的。
它拥有三种不同的使用形态,分别可以变换成手机、手表与电脑。在其不弯曲时,电子设备处于智能手机工作模式,拥有智能手机或平板的功能。当感应器感测到屏幕弯曲时,则会进入可穿戴模式。设备的部分屏幕会关闭,支持现有智能手表的多种应用。此外,你还可以将其弯折成电脑状。屏幕会因此分为两部分,一部分显示文档数据,另一部分则显示为可对文档进行编辑的键盘。
这个专利展现了华为对现有产品的未来优化方向,也为我们窥探未来提供了一个窗口。大胆想象一下,如果这条专利得到普及,我们或将迎来"万物皆媒"的时代。未来各种物品都可以加上一个屏幕与处理器,成为物联网的一部分。家里的装修随时随心修改,街上普通的柱子,可以根据路过的人不同而动态显示不同的广告,你的衣服甚至是隐形眼镜可以根据你的喜好切换不同图案。你还可以在自己的衣服上发媒体,打广告,走着路就把钱赚了。
华为在折叠屏领域一直处在领先地位,通过这么多专利来看,华为正在进一步扩大自己的领先地位,不断地做出各种尝试,探索各种折叠形态,以发挥折叠的最大化价值。
相关文章
- 赛立复CELFULL重磅专利开辟睡眠健康新路径!
- 海信发布三款重磅激光显示新品,逐步开放1300余项专利推动三色激光显示技术普及
- 国产奶粉品牌伊利金领冠三度斩获“中国专利奖”,智造实力获认可
- 尚饮SMYZE荣膺“专精特新”与欧洲专利双重殊荣,创新实力获国内外权威认可
- 易联众智能页面元素分类技术获批国家发明专利
- 华宝新能入选深企专利创新实力百强榜,技术攻坚引领绿色能源场景变革
- 易联众区块链应用技术获批国家发明专利
- 海康机器人技术创新引领潮流,专利成果助力企业稳健前行
- 苹果获新专利:双自动对焦传感器系统,将使iPhone相机性能实现飞跃提升
- 3400亿研发铸就里程碑,腾讯云数据库核心专利首摘中国专利金奖
- OPPO向大众汽车集团网联汽车许可蜂窝通信标准必要专利
- 用时五年四张舌诊发明专利终下证,知医邦AI看舌头玩的原来是数学
- CAYE咖爷以核心专利技术革新商用咖啡机赛道,重塑第三代全自动咖啡机智造标准
- 全球首款20MWh储能舱通过科技成果鉴定 专利将向全球公开
- 老板电器2024年:5年斩获5000+专利!技术创新成增长核心引擎
- 瑞声科技入选“全球百强创新机构”榜单,专利累计申请量超1.8万件
人工智能企业
更多>>人工智能硬件
更多>>人工智能产业
更多>>人工智能技术
更多>>- 云知声Unisound U1-OCR大模型发布!首个工业级文档智能基础大模型,开启OCR 3.0时代
- 基石智算上线 MiniMax M2.5,超强编程与智能体工具调用能力
- 昇腾原生支持,科学多模态大模型Intern-S1-Pro正式发布并开源
- 百度千帆深度研究Agent登顶权威评测榜单DeepResearch Bench
- 在MoltBot/ClawdBot,火山方舟模型服务助力开发者畅享模型自由
- 教程 | OpenCode调用基石智算大模型,AI 编程效率翻倍
- 全国首个!上海上线规划资源AI大模型,商汤大装置让城市治理“更聪明”
- 昇思人工智能框架峰会 | 昇思MindSpore MoE模型性能优化方案,提升训练性能15%+









