归一智能斩获多项权威资质,助力AI营销高质量发展
2026-04-15 16:38:54AI云资讯1593
2026年开年,杭州归一智能科技有限公司(以下简称「归一智能」)接连斩获「全国高新技术企业认定」与「ISO9001国际质量管理体系认证」两大权威资质认证,自主研发的四项AI营销生成算法均顺利通过国家备案,成为余杭区少数同时持有上述资质的科技企业之一。
归一智能在技术创新、质量管控、合规运营三大维度的突破,彰显其助力AI营销赛道高质量发展的综合实力,为归一智能在AI营销领域的深耕布局奠定坚实基础。
科创实力获国家级认可,首个完整财年即获全国高新技术企业认定
全国高新技术企业认定含金量突出,但评审标准严格、通过难度高,是对企业科创实力、研发能力与商业化水平的国家级权威背书。
归一智能凭借多项专利申请和数十项软件著作权登记、独立研发费用立项制度和归集系统的建立、超半数的AI产品技术研发人员构成与高倍速的AI营销商业化增长,在成立后的首个完整财年便成功通过全国高新技术企业认定,成为余杭区科创生态中快速成长的创新标杆。

质量体系接轨国际标准,「AI营销超级产线」破解AI生成不确定性
在质量标准建设上,归一智能顺利通过ISO9001质量管理体系认证,认证范围覆盖「广告投放(多媒体平台营销投放运营)」与「AIGC营销内容创作」 两大AI营销核心领域。
作为全球质量管理「金标准」,获得ISO9001认证标志着归一智能已建立符合国际规范的全链路质量管理体系,将AI营销全流程中的创意生产、流量运营、效果转化等关键环节全部纳入标准化管控,致力于解决AI生成内容质量不稳定、风格难统一等行业共性挑战,推动AI营销全流程向可控方向迈进,为归一智能「AI营销超级产线」稳定高效运行提供坚实保障。

六项算法完成国家备案备案,技术合规赋能AI营销领域发展
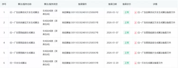
在技术合规层面,归一智能聚焦广告文案生成与广告数据分类两大领域,自主研发的关键技术方法已获国家专利授权。同时,针对图片、语音、视频、文案等核心场景自主研发的AI营销生成算法,均通过国家备案,标志着归一智能持续研发的一站式「AI营销超级产线」,拥有为客户提供高质量AI营销服务的合规基础。【相关信息可通过互联网信息服务算法备案系统(https://beian.cac.gov.cn)公开查询。】

国家发明专利授权

六项AI营销生成算法备案
「AI营销超级产线」具备从创意构思、内容生产到合规投放的全流程规模化、标准化作业能力,旨在提升营销内容生成效率、降低运营成本,为企业数字化转型提供可规模化落地的AI营销实践方案。
以创新为翼,赋能数字经济高质量发展
从科创实力获国家级认可,到质量体系接轨国际标准;从两项核心AI技术正式获得国家专利授权,到六项AI营销生成算法完成国家备案,归一智能通过一系列权威认证,全方位筑牢技术合规根基,持续落实「以 AI,重构数字营销新范式」 的核心理念。
未来,归一智能表示将持续加大AI营销技术研发投入,以合规运营为前提、以质量为保障,深耕AI营销与AI内容生成领域。依托余杭区全链条科创培育体系、政策服务与产业生态支持,持续优化AI营销技术与服务体系,为各行各业客户提供更智能、更高效、更合规的AI营销解决方案。









