维信诺独供红魔 6S Pro手机165Hz屏幕,新型像素排列曝光
2021-09-10 10:23:08AI云资讯919
近日,腾讯红魔游戏手机6S Pro 正式发布。手机搭载高通骁龙 888 Plus 旗舰 SoC,配备满血版 LPDDR5 内存 + UFS 3.1 闪存,拥有 165Hz 高刷 AMOLED 屏(维信诺独供)、触控肩键、涡轮风扇等特性。

这款产品搭载6.8 英寸AMOLED全面屏,并依然保持了全球领先的最高165Hz刷新率,屏幕供应商也依然是此前独供红魔90Hz、144Hz等系列产品的维信诺。
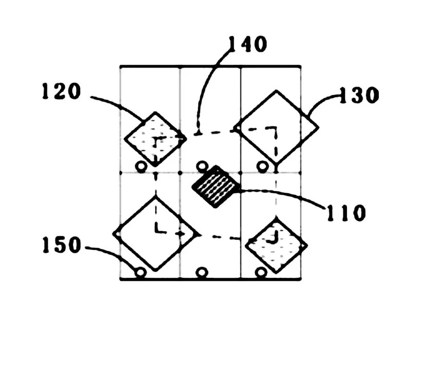
值得一提的是,红魔在发布会中首次提到了使用“晶钻排列”。根据微博@WHYLAB 曝光的红魔6S Pro显微镜图片显示,该手机使用的像素排列与维信诺2016年申请的已授权发明专利CN107887404 B《AMOLED像素结构及显示装置》中的像素排列一致,其中2组R和B子像素共同构成一个梯形。

图 1 红魔6S Pro像素排列

图 2 维信诺像素结构专利CN 107887404 B

图 3 显微镜图片与专利对照
据业内人士分析,这种像素排列拥有82%视觉等效Real RGB的显示效果,是业内最高水平的视觉像素密度效果,较其他像素排布显示效果更细腻、更锐利、更均匀。
根据红魔发布信息显示,该屏幕采用无挖孔设计,前摄位于屏幕上方,保证游戏时画面无遮挡,同时具有低蓝光认证、屏下指纹识别技术。为满足游戏操作,屏幕的多指触控采样率可达720Hz,也属目前手机中的最高水平。
性能方面,手机搭载的高通骁龙 888 Plus SoC,超大核主频可达3.0GHz,同时 AI 算力提升20%,游戏性能更强。手机配备腾讯Solar Core 游戏引擎,针对大量游戏专门调校,保证游戏帧率稳定,具有极速启动功能。
影像方面,手机 配备了64M像素AI三摄,除了主摄外,还配备了超广角镜头和微距镜头。手机配备了双立体声扬声器,通过 DTS:X Ultra 认证,拥有双 smart PA 功放芯片驱动。
红魔6S Pro是继今年红魔6系列后发布的“加强版”配置产品,凭借165Hz高刷新率和出色的性能,持续保持在电竞手机品类的优势,预计也将成为年度最为畅销的电竞手机。
相关文章
- 鲁大师5月新机性能/流畅/AI榜:红魔再刷性能上限,小米玄戒首秀惊艳,OV上演流畅优化对决
- 鲁大师11月新机性能/流畅/AI/久用榜:骁龙8至尊版新机持续霸屏,红魔10 Pro+性能强势登顶
- 努比亚红魔携手京东方联合打造 全球首款1.5K屏下摄像全面屏正式交付
- 红魔9 Pro+荣获2023鲁大师牛角尖“年度游戏性最强手机”奖,彰显无可比拟的极致游戏体验
- 原神、崩铁满帧运行 第三代骁龙8助红魔9 Pro游戏狂飙
- 全屏出色全能旗舰!行业唯一纯平背板+全球首发超竞全面屏红魔9 Pro系列发布
- 红魔电竞性能擂直播赛果揭晓,红魔8S Pro+夺冠再现极致性能
- 红魔8Pro银翼全面开售 京东手机焕新季以旧换新至高补贴1100元
- 红魔8 Pro系列发布,全新外观+全场景生态+旗舰级影像仅3999起
- 电竞玩家必备!红魔7S系列正式开售 京东下单可享12期免息
- 骁龙8+芯片+ICE魔冷散热系统 京东预售红魔7S系列可享半年碎屏险等多重保障
- 高端游戏旗舰市占率Top1!极高画质满帧原神机皇红魔新品7S系列于7.15开售3999起
- 红魔618全程战报出炉!斩获4000元以上硬核游戏手机双冠军!
- 高考毕业生看过来!红魔手机618活动来袭 京东下单红魔7系列至高立减800元
- 换机最佳契机来袭!红魔7系列最高直降800元,保价618
- 开售6小时斩获京东双冠王,红魔7系列成功霸榜618京东游戏手机前三
人工智能企业
更多>>人工智能硬件
更多>>人工智能产业
更多>>人工智能技术
更多>>- Twinkle x昇腾,率先实现Deepseek-V4系列模型高效训练
- 高德发布鸿蒙首个生成式 UI 开源框架 AGenUI,告别传统 UI 开发模式
- 发布即适配| 天数智芯全力支持腾讯混元Hy3 preview 开源落地,共推国内大模型产业普惠
- Seedance 2.0面向企业公测,豆包大模型日均Token使用量突破120万亿
- 端到端OCR模型第一!百度千帆Qianfan-OCR正式发布
- 云知声Unisound U1-OCR大模型发布!首个工业级文档智能基础大模型,开启OCR 3.0时代
- 基石智算上线 MiniMax M2.5,超强编程与智能体工具调用能力
- 昇腾原生支持,科学多模态大模型Intern-S1-Pro正式发布并开源









