苹果汽车新专利:可控制进入车内的光线量
2022-02-03 19:47:07AI云资讯1342
一直以来,苹果汽车都处于严格保密状态,外界对这款苹果公司有史以来最大的产品所知不多,甚至还怀疑它是否真的存在。
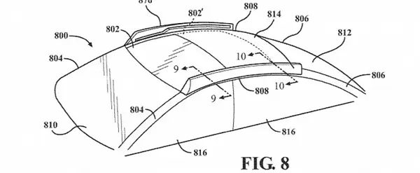
2022年2月1日,苹果获得一项汽车天窗的专利授权。专利显示,汽车天窗具有可调节的透明玻璃,司机可以选择调整天窗的透明度,另外这项技术也可用于汽车侧窗。

这项专利的名称是“可移动面板组件”。苹果公司再专利中解释道:“可变半透明区域随着可动面板组件从关闭位置向开放位置的移动而从变暗状态切换到变亮状态,而可变半透明区域随着可动面板组件从开放位置向关闭位置的移动而从变亮状态切换到变暗状态”。
此专利目的是让司机能够决定进入车内光线的多少,而不必打开天窗。不难想象,苹果汽车的天窗将可以通过CarPlay或Siri进行调整。
从这个专利也可以看出苹果汽车项目的确是真实存在,而根据此前的传言,苹果汽车将会在2025年正式推向市场。

相关文章
- 循环包装租赁成汽车供应链降本增效关键支撑:从一次性采购走向共享运营
- 东软睿驰AI汽车智能进化全栈产品亮相2026北京车展
- 汽车行业首家!北汽福田获“两化融合管理体系”与 “数字化转型管理体系”5A级评定
- 铜筑安全基石 新能源汽车普及中的关键材料价值分析(上篇)
- 奇瑞布局机器人产业:T+T战略引领 推动智能汽车技术向具身智能延伸
- 北京车展落幕 赛力斯魔方技术平台加速汽车向具身智能演进
- “问界模式”成全球汽车产业转型典型样本 中国豪华品牌获全球认可
- 赛力斯汽车董事长张正萍荣获“福布斯中国ESG影响力企业人物”
- 驭新而行驱动产业升级,生态京津冀迈向全球高端汽车价值链高地
- 五界协同筑生态,鸿蒙智行以体系之力领跑智能汽车下半场
- 赋能电子、汽车、半导体、数据中心等产业,Fac Tec China电子工厂设施展邀您共赴6月2-4日上海世博展览馆
- 汽车设计借助人工智能大幅缩短了研发周期
- 彭博社直播对话赛力斯张正萍:问界是全球豪华汽车品牌TOP10唯一中国品牌
- 海康存储携多款新品亮相2026北京车展 演绎汽车存储新生态
- 《智能座舱:定义AGI时代的汽车新范式》白皮书发布
- 国产ZCU芯片历史性突破:欧冶半导体工布565首发,打造智能汽车“区域智能中枢”
人工智能企业
更多>>人工智能硬件
更多>>人工智能产业
更多>>人工智能技术
更多>>- Twinkle x昇腾,率先实现Deepseek-V4系列模型高效训练
- 高德发布鸿蒙首个生成式 UI 开源框架 AGenUI,告别传统 UI 开发模式
- 发布即适配| 天数智芯全力支持腾讯混元Hy3 preview 开源落地,共推国内大模型产业普惠
- Seedance 2.0面向企业公测,豆包大模型日均Token使用量突破120万亿
- 端到端OCR模型第一!百度千帆Qianfan-OCR正式发布
- 云知声Unisound U1-OCR大模型发布!首个工业级文档智能基础大模型,开启OCR 3.0时代
- 基石智算上线 MiniMax M2.5,超强编程与智能体工具调用能力
- 昇腾原生支持,科学多模态大模型Intern-S1-Pro正式发布并开源









