微软专利曝光:通过组装不同容量的电视提高头显续航能力
2019-02-20 11:06:02AI云资讯1355
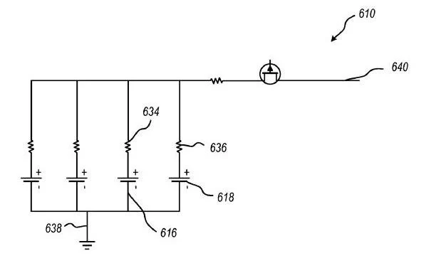
头显续航能力和佩戴舒适度一直是影响用户体验的两大重要因素。虽然增加电池容量可以增加续航时间,但由于加重了头显重量从而会影响佩戴舒适度。针对这个问题,微软提出了一个解决方案。
微软提交了一项名为“Systems And Methods Of Head-Mounted Devices With Mixed Capacity Cells”的专利,希望通过将不同容量的电池组装在一起来提升头显的整体续航能力,同时又不会过分增加头显的重量。

传统电池组多为相同规格的电池并联在一起,而微软计划将不同容量的电池以更多样的方式连接在一起,从而在有限的体积密度下实现更大的容量。
目前这项专利仍在研发中,具体细节尚不可知。
相关文章
- 微软将通过动态CPU调节技术提升Windows 11的性能
- OpenAI宣布与AMD、英伟达、英特尔、微软及博通达成超级合作,合力加速AI发展
- 微软放弃Xbox Copilot人工智能
- 微软发布2026财年第三季度财报,Xbox收入下滑,云业务攀升
- 双城奔赴,智领未来:领驭科技亮相2026微软AI Tour上海·香港站
- 微软在Word、Excel和PowerPoint中推出“氛围工作”功能
- 微软为Copilot测试类似OpenClaw的AI机器人
- 微软开始从Windows 11应用中移除Copilot按钮
- 2026 AI智能体端侧变革来袭,微软/微美全息押注生成式Agent开启高成长篇章
- 微软重组AI领导层,任命新负责人雅各布·安德烈欧执掌Copilot
- 微软的Xbox模式将登陆Windows 11电脑
- 微软开发者大会将于6月在旧金山举行
- 微软将为Windows 11增加内置网络速度测试功能
- 微软通过月度安全更新对Windows安全启动证书进行升级
- 微软计划利用高温超导材料设计能效更高的数据中心
- 谷歌云客户业务负责人重返微软,出任安全主管
人工智能企业
更多>>人工智能硬件
更多>>- 一飞智控携全空间解决方案及三款新品,亮相2026世界无人机大会
- 续航超强的微星全新尊爵系列,重塑轻薄本的超凡全能体验
- BOE(京东方)全球首发原生千帧FHD 护眼电竞显示器 真千帧硬实力引领电竞高刷新时代
- Neousys宸曜发布星宸系列强固嵌入式工控机,赋能工业智能升级
- BOE(京东方)OLED技术赋能联想YOGA Air 14 Ultra 定义超轻薄AI PC新标杆
- iQOO 15T正式发布:天玑9500 Monster版加持 全能体验无短板
- 从“+AI”到“AI+”:天禧AI 4.0加持,联想AI主机领衔L3级终端震撼登场
- 拾年匠音,声来不凡,致敬1000X系列十周年 索尼发布1000X十周年典藏版头戴降噪耳机
人工智能产业
更多>>人工智能技术
更多>>- Twinkle x昇腾,率先实现Deepseek-V4系列模型高效训练
- 高德发布鸿蒙首个生成式 UI 开源框架 AGenUI,告别传统 UI 开发模式
- 发布即适配| 天数智芯全力支持腾讯混元Hy3 preview 开源落地,共推国内大模型产业普惠
- Seedance 2.0面向企业公测,豆包大模型日均Token使用量突破120万亿
- 端到端OCR模型第一!百度千帆Qianfan-OCR正式发布
- 云知声Unisound U1-OCR大模型发布!首个工业级文档智能基础大模型,开启OCR 3.0时代
- 基石智算上线 MiniMax M2.5,超强编程与智能体工具调用能力
- 昇腾原生支持,科学多模态大模型Intern-S1-Pro正式发布并开源









