微软新专利:暗示Surface Pro 7将用全新铰链支架
2019-03-20 15:16:28AI云资讯1200
微软的一项新专利说明下一代的Surface Pro 7可能配备了重新设计的铰链支架。在该专利中,微软详细说明了计算设备的铰链机构如何工作以及可以采取哪些措施来进一步改进它。
我们首先发现了一个名为“SECURED DEVICE PORTIONS”(安全设备部分)的专利,该专利于2017年由微软提交,并于2019年3月14日由美国专利商标局公布。该专利解释了二合一设备支架和双屏幕设备支架的铰链结构。
该专利的特色是带有支架的Surface Pro图像,专利强调改进了支架铰链,使Surface Pro能够改变其外形。

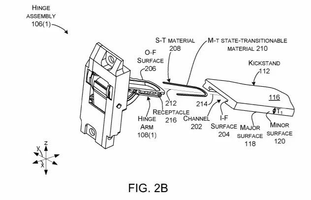
在另一个有趣的例子中,微软已经解释说这项技术也可用于双屏可折叠设备。
“除了所示的平板电脑配置之外,在其他实施方式中,第一和第二部分102和104可以表现为其他形状因子。例如,第一和第二部分可以表现为笔记本计算设备的输入侧和显示侧。”微软解释说。

“在另一个示例中,第一和第二部分可以表现为可折叠智能手机或可穿戴智能设备的两侧。在一个这样的例子中,第一和第二部分中的任何一个或两个可以包括显示屏或多个显示屏,”该公司补充道。
值得注意的是,专利申请并不能保证该技术能够达到批量生产。这表明微软可能正在考虑改进Surface Kickstand支架的新方法,并想出一种在可折叠设备上使用该设计的方法。
对于Surface Pro设备,该专利的目标似乎是使支架机构整体更平滑而不影响体验。
相关文章
- 微软将为Windows 11增加内置网络速度测试功能
- 微软通过月度安全更新对Windows安全启动证书进行升级
- 微软计划利用高温超导材料设计能效更高的数据中心
- 谷歌云客户业务负责人重返微软,出任安全主管
- 微软下一代Xbox游戏主机将搭载AMD开发的半定制系统级芯片,预计2027年发布
- 微软宣布将构建人工智能内容许可合作应用商店
- 微软为Windows 11系统测试顶部菜单栏
- 微软正式发布第二代自研AI芯片Maia 200
- 微软2026年的首个Windows 11更新可谓漏洞百出
- 微软2026年首个Windows 11更新导致部分电脑无法关机
- 传音荣获 CES 2026 微软 AI 创新奖,以实用型 AI 深化新兴市场智能体验
- 社区居民激烈抵制,微软新人工智能数据中心建设受到困扰
- 汉朔科技与微软在既有战略合作基础上深化协作:共筑数字孪生门店新基座,构建零售未来竞争力
- 传音荣获CES 2026 微软 AI 创新奖,以实用型 AI 深化新兴市场智能体验
- 微软将直接在Copilot中嵌入购买按钮,用户能够通过AI聊天对话直接完成购物
- AI办公硬件新标杆:未来智能携viaim亮相CES 2026,斩获微软人工智能创新奖
人工智能企业
更多>>人工智能硬件
更多>>- 忆联UH812a以极致存力破局大模型载入瓶颈,释放算力潜能
- 讯飞翻译机登陆MWC 2026,同传级沟通体验,多语种交流无压力
- 普恩志引领:2026半导体与高端制造前瞻——核心备件如何驱动产业革新与市场机遇
- 超旗舰降噪,殿堂级音质 索尼双芯超旗舰真无线降噪耳机WF-1000XM6正式发售
- 当AI学会“隐身”,手机才真正智能:三星Galaxy S26系列开启AI哲学的降维打击
- 全球首秀!讯飞AI眼镜亮相MWC,多模态同传大模型与极致轻量化设计 引领智能穿戴新风向
- 全球瞩目!荣耀携Robot Phone、Magic V6系列、荣耀MagicBook Pro 14 2026震撼亮相MWC 2026
- MWC直击:荣耀双旗舰搭载第五代骁龙8至尊版,助力智能手机下一代技术演进
人工智能产业
更多>>人工智能技术
更多>>- 云知声Unisound U1-OCR大模型发布!首个工业级文档智能基础大模型,开启OCR 3.0时代
- 基石智算上线 MiniMax M2.5,超强编程与智能体工具调用能力
- 昇腾原生支持,科学多模态大模型Intern-S1-Pro正式发布并开源
- 百度千帆深度研究Agent登顶权威评测榜单DeepResearch Bench
- 在MoltBot/ClawdBot,火山方舟模型服务助力开发者畅享模型自由
- 教程 | OpenCode调用基石智算大模型,AI 编程效率翻倍
- 全国首个!上海上线规划资源AI大模型,商汤大装置让城市治理“更聪明”
- 昇思人工智能框架峰会 | 昇思MindSpore MoE模型性能优化方案,提升训练性能15%+









