微软新专利改进了增强现实系统的音频部分
2019-03-21 12:05:25AI云资讯1406
微软的一项新专利揭示了针对增强现实设备当中音频系统的改进。这项名为“音频增强现实系统”的专利由USPTO于2019年3月19日出版,微软2018年提交这项专利。在该专利申请中,微软描述了新技术,用于改进增强现实系统的音频部分。
微软在专利描述当中表示,在线信息搜索和查询检索技术,包括数字音频波形。在一个方面,音频波形由多个音频输入设备中的至少一个接收和数字化。数字化的音频波形被传送到一个中央处理单元,中央处理单元将一个查询公式化并提交给一个在线引擎。
所提出的查询可以包括至少一个数字音频波形。联机引擎检索与公式化查询相关的一个或多个联机结果。在线结果可以包括一个或多个相关的视觉结果和/或一个或多个相关的音频结果。检索到的结果通过具有音频输出能力的设备和/或具有可视数据输出能力的设备实时返回给用户。
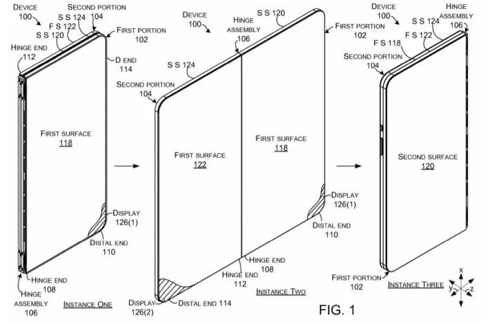
另外,据说微软正在开发自己的可折叠设备和针对这些外形尺寸优化的新版 Windows 。微软的一项新专利揭示了一种双屏平板设备,可以运行Windows10。专利申请显示它带有两个显示屏和一个铰链组件,保持两边连接,并且允许装置改变其形状系数。它还使用磁铁让2侧合起,设备甚至支持360度旋转。




相关文章
- 微软将为Windows 11增加内置网络速度测试功能
- 微软通过月度安全更新对Windows安全启动证书进行升级
- 微软计划利用高温超导材料设计能效更高的数据中心
- 谷歌云客户业务负责人重返微软,出任安全主管
- 微软下一代Xbox游戏主机将搭载AMD开发的半定制系统级芯片,预计2027年发布
- 微软宣布将构建人工智能内容许可合作应用商店
- 微软为Windows 11系统测试顶部菜单栏
- 微软正式发布第二代自研AI芯片Maia 200
- 微软2026年的首个Windows 11更新可谓漏洞百出
- 微软2026年首个Windows 11更新导致部分电脑无法关机
- 传音荣获 CES 2026 微软 AI 创新奖,以实用型 AI 深化新兴市场智能体验
- 社区居民激烈抵制,微软新人工智能数据中心建设受到困扰
- 汉朔科技与微软在既有战略合作基础上深化协作:共筑数字孪生门店新基座,构建零售未来竞争力
- 传音荣获CES 2026 微软 AI 创新奖,以实用型 AI 深化新兴市场智能体验
- 微软将直接在Copilot中嵌入购买按钮,用户能够通过AI聊天对话直接完成购物
- AI办公硬件新标杆:未来智能携viaim亮相CES 2026,斩获微软人工智能创新奖
人工智能企业
更多>>人工智能硬件
更多>>- 忆联UH812a以极致存力破局大模型载入瓶颈,释放算力潜能
- 讯飞翻译机登陆MWC 2026,同传级沟通体验,多语种交流无压力
- 普恩志引领:2026半导体与高端制造前瞻——核心备件如何驱动产业革新与市场机遇
- 超旗舰降噪,殿堂级音质 索尼双芯超旗舰真无线降噪耳机WF-1000XM6正式发售
- 当AI学会“隐身”,手机才真正智能:三星Galaxy S26系列开启AI哲学的降维打击
- 全球首秀!讯飞AI眼镜亮相MWC,多模态同传大模型与极致轻量化设计 引领智能穿戴新风向
- 全球瞩目!荣耀携Robot Phone、Magic V6系列、荣耀MagicBook Pro 14 2026震撼亮相MWC 2026
- MWC直击:荣耀双旗舰搭载第五代骁龙8至尊版,助力智能手机下一代技术演进
人工智能产业
更多>>人工智能技术
更多>>- 云知声Unisound U1-OCR大模型发布!首个工业级文档智能基础大模型,开启OCR 3.0时代
- 基石智算上线 MiniMax M2.5,超强编程与智能体工具调用能力
- 昇腾原生支持,科学多模态大模型Intern-S1-Pro正式发布并开源
- 百度千帆深度研究Agent登顶权威评测榜单DeepResearch Bench
- 在MoltBot/ClawdBot,火山方舟模型服务助力开发者畅享模型自由
- 教程 | OpenCode调用基石智算大模型,AI 编程效率翻倍
- 全国首个!上海上线规划资源AI大模型,商汤大装置让城市治理“更聪明”
- 昇思人工智能框架峰会 | 昇思MindSpore MoE模型性能优化方案,提升训练性能15%+









