ETSI MEC发布应用编排管理技术规范:支撑边缘计算生态发展
2019-12-11 09:20:41AI云资讯1323
近日,边缘计算标准组织ETSIMEC ISG发布了《ETSI GS MEC 0010-2 Multi-accessEdgeComputing (MEC);MEC Management;Part 2: Application lifecycle, rules and requirements management》V2.1.1技术规范。此举正式宣布ETSI MEC推出基于MEC参考架构的应用编排管理接口协议与API,以支撑边缘计算生态发展。
值得一提是,中兴通讯担任了本次技术规范的报告起草人,以及《ETSI MEC 0021 Multi-access Edge Computing (MEC);MEC Application Mobility》的报告起草人,率先提出5G Core Connect特性,以整合ETSI MEC与3GPP5G核心网边缘计算支撑能力。
MEC的两种主流运营模式
ETSI MEC成立于2014年,是由电信运营商、设备商、以及行业应用开发商共同发起创建的边缘计算标准化组织,目前成员超过96名。ETSI MEC旨在多接入网络边缘为应用开发商与内容提供商搭建一个云化计算与IT服务平台,并通过该平台开放网络信息与能力服务,实现高带宽、低时延业务支撑与本地管理,是目前业界公认的边缘计算系统标准化组织。
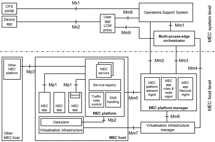
从ETSI MEC系统参考架构可以更好地理解本次发布0010-2技术规范的重要性。ETSI MEC系统参考架构由System level和Host level两个层次构成,通过两个层次的功能组件协同,MEC系统为边缘App提供部署、管理与运维能力。

ETSI MEC系统参考架构
在System level,OSS让运营商可以触发App运维管理和控制操作,并决定是否授权App实例化请求。Multi-access edge orchestrator管理MEC系统拓扑,负责App包加载和App实例部署位置编排,并触发App实例化和实例终止。
在Host level,MEC 主机为App运行提供VIM管理的虚拟化基础设施。MEC platform让App可以发现、通知、消费其中的边缘服务,注册第三方服务,以及基于分流策略和DNS配置控制Data Plane规则。MEC platform manager则负责App生命周期管理、性能统计、服务授权、以及分流策略与DNS配置等应用规则管理,并负责MEC platform基本运维管理。
当运营商利用MEC系统开展边缘业务时,有两种主流运营模式。一是运营商直接运营包括边缘应用在内的MEC系统,并向终端用户直接提供边缘业务。二是运营商将MEC系统作为PaaS平台提供给第三方应用,并由第三方应用提供商向终端用户运营边缘业务。
无论哪种运营模式,都需要MEC系统提供成熟规范化的App部署管理能力,以方便灵活的部署边缘应用。因此,ETSI MEC 0010-2技术规范通过定义App生命周期管理流程、生命周期管理相关接口数据模型和API,以及定义应用规则需求相关描述配置等要素满足上述需求。
0010-2技术规范详解
MEC 0010-2技术规范是目前边缘应用部署到ETSI MEC系统中的关键标准,其基于Restful原则设计定义的Mm1和Mm3服务化API,将OSS、MEC platform manager、Multi-access edge orchestrator三个功能组件串联起来,形成完整的应用生命周期、规则与需求管理功能。
目前Mm1和Mm3主要包含两大类型的服务化API。一是应用包管理服务API,提供预定义方式管理边缘应用分流规则和DNS规则,加载或者卸载应用包到目标MEC Host,查询加载后的应用包信息。二是应用生命周期管理服务API,提供目标MEC Host上边缘应用实例化或终止应用实例,按照业务运营需求启动目标边缘应用实例或将其阻塞。
ETSI MEC 0010-2规范统一规范Mm1和Mm3接口API,运营系统可以根据部署需求,使用相同API操作接口直接访问Mm1或者Mm3实现应用管理需求。当前版本的Mm1和Mm3 接口API支持虚拟机模式部署,原则上保持与NFV接口定义一致,为后续面向MEC in NFV架构演进的App编排管理打下良好基础。
目前,MEC 0010-2技术规范已正式开启第三版本制定。在这个版本中,ETSI MEC通过与ETSI NFV合作,将在流程和接口层面推进MEC in NFV架构标准化。对于已经部署基于NFV基础设施设备网元的运营商,后续只需要在NFV基础设施之上再叠加一层MEC编排管理组件,即可实现边缘App部署与管理,这在最大程度上减小开展边缘业务的成本开销,同时又能灵活支撑运营商部署边缘网络服务,高效融合ICT。
此外,ETSI MEC正在讨论引入多租户编排管理框架,以提供更加安全可靠灵活的边缘应用管理机制,这部分研究内容未来也会继续体现在MEC 0010-2规范之中。
相关文章
- 领跑边缘AI!白山云入选“2026中国边缘计算企业20强”
- 云工场科技连续四年入选“中国边缘计算企业20强”,引领行业趋势
- 兆讯恒达荣膺“年度创新IC设计公司”,以创新引领边缘计算芯变革
- 英特尔推出面向边缘计算的Bartlett Lake与Panther Lake处理器:最高12个性能核、频率达5.9GHz
- 深耕边缘计算,酷芯微电子解锁 AI 应用新场景
- 芯动力科技携手中兴通讯 共筑边缘计算光接入新生态
- 算力之后看存力,英韧科技洞庭-N3X SSD推动AI和边缘计算存储升级
- AI 时代的边缘动力:Zenlayer 再入选“中国边缘计算企业 20 强”
- 鲲鹏携手伙伴从数据中心,走向AI及边缘计算,使鲲鹏无处不在—— 鲲鹏KPN伙伴大会在深召开
- 让听得见炮声的人来决策,汉威科技推出Ai200边缘计算网关
- 荣联科技集团入选2024边缘计算TOP100
- 边缘计算需求持续爆发,服务器厂商迎来新增长空间
- 工业智能边缘计算2024年会成功举办
- 开普云推出大模型边缘计算一体机“开悟魔盒”
- 青云QingCloud EdgeWize 3.0 全新发布,重塑边缘计算,驱动云边数智化转型
- 英特尔与生态伙伴共同打造企业级AI生态,推动AI与边缘计算加速融合
人工智能企业
更多>>人工智能硬件
更多>>人工智能产业
更多>>人工智能技术
更多>>- 发布即适配| 天数智芯全力支持腾讯混元Hy3 preview 开源落地,共推国内大模型产业普惠
- Seedance 2.0面向企业公测,豆包大模型日均Token使用量突破120万亿
- 端到端OCR模型第一!百度千帆Qianfan-OCR正式发布
- 云知声Unisound U1-OCR大模型发布!首个工业级文档智能基础大模型,开启OCR 3.0时代
- 基石智算上线 MiniMax M2.5,超强编程与智能体工具调用能力
- 昇腾原生支持,科学多模态大模型Intern-S1-Pro正式发布并开源
- 百度千帆深度研究Agent登顶权威评测榜单DeepResearch Bench
- 在MoltBot/ClawdBot,火山方舟模型服务助力开发者畅享模型自由









