微软专利揭秘Surface Neo/Duo铰链技术
2020-01-21 12:16:24AI云资讯1900
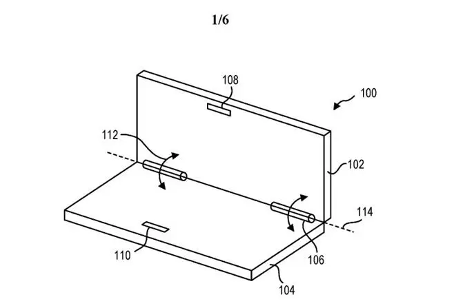
折叠设备为用户提供了更大的灵活性,不过也引发了了公众有关可折叠设备耐用性的顾虑。相比之下微软的双屏设备Surface Neo和Surface Duo借助铰链机制和两个独立的显示屏(而不是单个柔性屏幕)可以做到更加耐用。

微软曾于去年向WIPO提交了专利申请“带有可调节关闭磁铁的铰链”。该专利详细介绍了这种特殊铰链的各项细节,其中包括可在Surface Neo或Duo中使用的新铰链技术的示意图。

在文件中微软公司指出,相关的铰链装置包括位于设备外壳内的第一磁体和第二磁体,微软表示其在设备中加入了一种特殊的调节机制以使第二个磁铁可以平移移动。专利提到:“第二磁体的移动可改变其相对于第一磁体的位置或方向并以此在第一磁体位于第二磁体附近时改变第一磁体和第二磁体之间的磁力。”。
相关文章
- 微软将为Windows 11增加内置网络速度测试功能
- 微软通过月度安全更新对Windows安全启动证书进行升级
- 微软计划利用高温超导材料设计能效更高的数据中心
- 谷歌云客户业务负责人重返微软,出任安全主管
- 微软下一代Xbox游戏主机将搭载AMD开发的半定制系统级芯片,预计2027年发布
- 微软宣布将构建人工智能内容许可合作应用商店
- 微软为Windows 11系统测试顶部菜单栏
- 微软正式发布第二代自研AI芯片Maia 200
- 微软2026年的首个Windows 11更新可谓漏洞百出
- 微软2026年首个Windows 11更新导致部分电脑无法关机
- 传音荣获 CES 2026 微软 AI 创新奖,以实用型 AI 深化新兴市场智能体验
- 社区居民激烈抵制,微软新人工智能数据中心建设受到困扰
- 汉朔科技与微软在既有战略合作基础上深化协作:共筑数字孪生门店新基座,构建零售未来竞争力
- 传音荣获CES 2026 微软 AI 创新奖,以实用型 AI 深化新兴市场智能体验
- 微软将直接在Copilot中嵌入购买按钮,用户能够通过AI聊天对话直接完成购物
- AI办公硬件新标杆:未来智能携viaim亮相CES 2026,斩获微软人工智能创新奖
人工智能企业
更多>>人工智能硬件
更多>>人工智能产业
更多>>人工智能技术
更多>>- 云知声Unisound U1-OCR大模型发布!首个工业级文档智能基础大模型,开启OCR 3.0时代
- 基石智算上线 MiniMax M2.5,超强编程与智能体工具调用能力
- 昇腾原生支持,科学多模态大模型Intern-S1-Pro正式发布并开源
- 百度千帆深度研究Agent登顶权威评测榜单DeepResearch Bench
- 在MoltBot/ClawdBot,火山方舟模型服务助力开发者畅享模型自由
- 教程 | OpenCode调用基石智算大模型,AI 编程效率翻倍
- 全国首个!上海上线规划资源AI大模型,商汤大装置让城市治理“更聪明”
- 昇思人工智能框架峰会 | 昇思MindSpore MoE模型性能优化方案,提升训练性能15%+









