福特新专利 方向盘变身笔记本支架边开车边办公
2018-06-10 16:46:35AI云资讯1713

6月9日据国外媒体报道,很多人都有过这样的经历,想要在狭小的汽车空间内打开笔记本办公,是一件很困难的事。不过福特最近就申请了一项新专利想要解决这个问题。
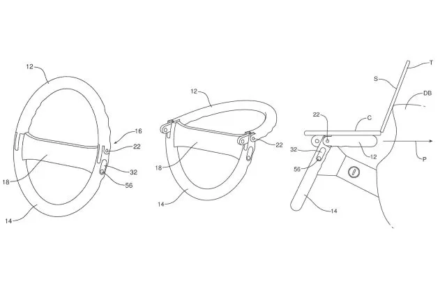
USPTO(美国专利商标局)最近公布了福特一项可折叠方向盘的专利。这项专利中介绍的系统非常简单,在方向盘内采用了铰链的设计,可以转换成摆放笔记本的底座,整个过程看起来并不太复杂。
未来,随着自动驾驶汽车技术成熟,也许方向盘就会慢慢消失,因此这项专利更多的适用于过渡阶段。该专利适合那些想要在车内完成一些工作、并且汽车具备一定自动驾驶功能的用户。从专利上看,将方向盘折叠成笔记本支架很简单,只要将座位后移,就可以开始在车上办公。
不过根据发现专利的AutoGuide网站指出,这项专利目前来看不太可能被使用到具体的产品中,因为还是会面临太高的安全风险。也就是说,其实汽车厂商有很多申请的专利,主要目的是为了防止被竞争对手抢先,并不一定会真的进一步进行投入和研发。
尽管如此,我们还是很高兴的看到,汽车厂商已经开始花心思让我们能够在车上做其它的事情。之前宝马已经将微软Outlook集成到了汽车仪表盘中,一边开车一边查阅电子邮件,已经变成了现实。
相关文章
- 福特BlueCruise 1.4更新,智能辅助驾驶系统的时间有所延长
- 福特2025款探险者首次搭载全新Android车载数字体验系统
- 以智先行!联想懂的通信携手福特共拓全球智能车市场
- 百度Apollo智舱接入福特EVOS,开启燃油汽车智能化新进程
- 福特和通用进入芯片开发领域 以帮助应对短缺问题
- 福特汽车聚焦科技出行,参与智慧交通建设
- 牵手福特,谷歌将在车载互联、云计算等为其提供支持
- 福特中国以“硬实力X暖科技”实力护航出行
- 福特中国:领界EV自诞生起就拥有了卓越的安全性
- 福特斥资10亿美元投资阿尔戈人工智能自动驾驶汽车初创企业
- 洛天依前来应援,搭载腾讯TAI的福特领界S触电二次元
- 福特汽车公司将投资5亿美元入股北美创新电动车制造企业Rivian
- 福特陈安宁发布的“智能科技计划”有序开展
- 福特自动驾驶汽车配送机器人,轻轻松松完成投递任务
- 福特发布自动驾驶汽车数据集 迄今为止最为全面
- 2021年推出具有L4级别自动驾驶功能的量产车 有效助力福特销量提升
人工智能企业
更多>>人工智能硬件
更多>>人工智能产业
更多>>人工智能技术
更多>>- 发布即适配| 天数智芯全力支持腾讯混元Hy3 preview 开源落地,共推国内大模型产业普惠
- Seedance 2.0面向企业公测,豆包大模型日均Token使用量突破120万亿
- 端到端OCR模型第一!百度千帆Qianfan-OCR正式发布
- 云知声Unisound U1-OCR大模型发布!首个工业级文档智能基础大模型,开启OCR 3.0时代
- 基石智算上线 MiniMax M2.5,超强编程与智能体工具调用能力
- 昇腾原生支持,科学多模态大模型Intern-S1-Pro正式发布并开源
- 百度千帆深度研究Agent登顶权威评测榜单DeepResearch Bench
- 在MoltBot/ClawdBot,火山方舟模型服务助力开发者畅享模型自由









