泛微特色物业数字化管理平台,助力高效协作、高质服务
2022-04-30 11:52:27AI云资讯869

随着现代物业管理逐渐规模化、规范化、标准化以及专业化,物业公司借力数字化的管理平台来提高物业服务效率和质量。
泛微数字化运营平台从业主、物业、开发商三方角度出发,满足物业企业内部基本办公需求的同时,覆盖物业企业执行层和管理层等各类岗位;还能够通过低代码快速构建业主服务模块,例如缴费、报修、建议投诉、快递查询等。
从而助力内部高效远程协作、房源租户信息数据等线上查询;不见面就能推进物业协议签署、高质高效为业主提供服务。

(泛微物业管理框架)
内部管理高效+业主服务少接触
泛微物业数字化管理平台应用特色
1、房屋管理
建立完善的房产信息库和业主信息库是整个物业项目管理的基本。
有些物业公司旗下管理好几个小区,如何理清房产和业主的关系、实时更新房产状态?信息越全面、精准越有利于物业的高效高质管理。
泛微通过建模和流程引擎,为物业管理公司建立一个统一的房屋信息查询入口,在一个平台上就能查询和更新旗下小区、楼栋、单元、业主、房产等信息,分类标记、方便查找,房产状态清晰分类。

(房屋台账)
泛微OA系统通过权限控制,不同小区项目人员只能看到本小区的房屋、业主基础信息;保障了数据和业主隐私的安全。
2、开发商管理
物业对开发商项目进行承接查验,是物业企业承接物业项目前的至关重要环节,其工作质量对以后的物业管理服务至关重要。
在系统中填写检查项目的情况,按照不同的查验标准进行项目查验,并反馈查验结果,出现不合格情况及时通知整改。

(承接查验)
查验完成之后形成查验报告,通过附件上传并记录到系统里。查验结果都有完整记录,对业主负责。
3、费用管理
房屋和业主信息已经在OA系统有序登记,为了对每位业主进行精准收费,OA系统可以提前将不同小区、不同楼盘的收费标准做好设置。
通过建立收费科目,包括物业收费标准、车位收费标准、水电收费标准等,收费的过程中会自动根据楼房信息智能核准费用,根据收费标准,批量生成应收账单。

(提前设定收费标准,精准计费)
所有收费过程由流程记录,想了解某一楼盘物业费有没有收,直接在表单一查就清楚。

(物业应收费查询)
针对部分商户的水电抄表工作,工作人员只需拿着手机就能轻松做好记录,方便每月月底核准。

(移动抄表)
4、收款管理
管理员可在OA中批量提交各租户费用信息,系统匹配商户名和联系方式自动将各项费用推送到各自关注的公众号,缴费明细和总额一目了然,方便快捷。
物业工作人员推送账单后,业主在微信公众号端能收到账单推送,即可缴费,不需要亲自跑到物业办公室当面缴费。

(付款推送)
针对物业费用组成复杂、收取难度大等问题,泛微通过业主缴费、缴费期限管理、缴费预警等功能,构建了合同账单管理,结算数据查询,以及所有客户的收款账号管理,在系统中可以快速查看每一户的物业费待缴情况。
每个订单都可查看支付流水记录,确认支付状态确认及申请开票。

(账单流水查询)
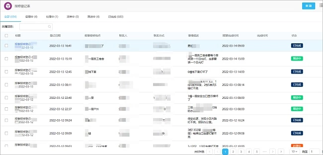
5、工单管理
通过报事报修的登记表,记录所有日常报修的事项,针对每一个报修事项,进行跟踪处理,不断提高物业服务满意度。

(工单管理)
6、巡检管理
建立各岗位人员的巡检标准,可以从环境、工程、绿化、保安、安装、装修、服务等角度,建立电子化的巡检标准。
巡检人员按规定定期巡检,按要求上报巡检内容,系统记录各岗位人员的巡检情况,通过智能报表智能呈现巡检数据,帮助管理层提高巡检监控、问题解决效率,更好地管理小区。

(巡检情况按要求一一上报)
按时对公租房进行巡检,排查公租房的使用情况,租住人员信息情况,以及房屋设施里面的情况。针对空置房的各项东西进行巡查,形成巡查记录台账。

(公租房巡查表)
7、内外协同,高效服务业主
良好便捷的沟通是提升服务满意度的不二之选。
物业客服遇到重要通知(停水、停电等)第一时间通过短信及APP将消息推送给业主;业主如有报修建议等信息也能迅速得到客服回复。

(消息推送)
8、数据报表
领导层能快速了解各个项目的基本情况,以及物业费的收缴情况。

(数据报表)
价值总结:
通过物业管理的全链条管理、规范管理,能够减轻一线执行人员的工作量。实时提取和查询各类报表数据,对整体的房屋及费用管理清晰了然,能够满足物业行业客户个性化的管理需求。
并且各类信息、数据在系统中存档,不会因为人员流动性大而造成数据丢失,便于随时调档查阅。
相关文章
- 泛微协助高校落地数字化会议:议题、上会、归档全过程管理
- 泛微数字化高校运营平台:统一办公平台、服务大厅
- 泛微在水务行业应用:低代码构建智能化、移动化的数字运营平台
- 制造业知名企业——金冠电气借力泛微搭建数字化管理平台
- 泛微特色物业数字化管理平台,助力高效协作、高质服务
- 李子园选择泛微
- 居家办公,泛微京桥通助力组织采购不停摆
- 泛微远程协同办公:居家办公也能高质高效
- 泛微数字化内控管理体系,助力组织规范经济行为,优化业务模式
- 泛微在住建局应用:助力建筑工程消防申报、审查、验收协同办理
- 泛微为组织搭建数字化评标专家库,助力招采更公平、更公正
- 泛微信创OA,信创体系下的一体化政务协同办公平台
- 华云数据携手泛微推出协同办公应用平台联合解决方案









