中国移动启动2018年CM-IMS五期核心网扩容改造
2018-09-13 11:01:40AI云资讯2705
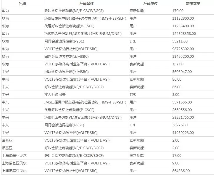
9月13日消息 昨日,中国移动公布2018年CM-IMS五期核心网(含VoLTE)扩容改造单一来源集采公告,华为、中兴、诺基亚获得本次集采订单。

相关文章
- 中国移动副总经理李慧镝:AN L4驱动众智启新时代
- 直击MWC 2026,见证中国移动如何引领科技创新浪潮
- GSMA 、中国移动、中国电信、中国联通发起Mobile AI Innovation 倡议
- 硬核科技实力出圈!中国移动精彩亮相MWC 2026
- 中国移动自智网络项目荣获国际标准贡献奖
- 当春节都在卷情怀,中国移动携王耀庆爆笑上演《“移”个好网》
- 中国移动数据分析类智能体“九天AlphaData”获国际权威评测认可
- 中兴通讯联合中国移动斩获TM Forum “杰出资产贡献奖”:通信大模型赋能行业智能运维
- 春节打卡顶流上线!中国移动「移」平米 AI 尝鲜体验馆引爆年味新潮流
- 中国移动供应链管理中心总经理朱国弟一行赴海康存储考察调研
- 极客邦科技中标中国移动集采项目,“知识+社区+生态”模式获央企客户认可
- 合作再升级:旷视与中国移动签署战略合作框架协议
- 科技当燃!中国移动“九天”闪耀中国科技创新盛典
- 3亿用户的共同选择!中国移动APP以数智赋能让生活更美好
- 中国移动首发智算推理集群“运营黄金标准”
- 中国移动长三角(苏州)汾湖智算中心5号机房楼主体结构封顶,助力长三角算力布局
人工智能企业
更多>>人工智能硬件
更多>>人工智能产业
更多>>人工智能技术
更多>>- 云知声Unisound U1-OCR大模型发布!首个工业级文档智能基础大模型,开启OCR 3.0时代
- 基石智算上线 MiniMax M2.5,超强编程与智能体工具调用能力
- 昇腾原生支持,科学多模态大模型Intern-S1-Pro正式发布并开源
- 百度千帆深度研究Agent登顶权威评测榜单DeepResearch Bench
- 在MoltBot/ClawdBot,火山方舟模型服务助力开发者畅享模型自由
- 教程 | OpenCode调用基石智算大模型,AI 编程效率翻倍
- 全国首个!上海上线规划资源AI大模型,商汤大装置让城市治理“更聪明”
- 昇思人工智能框架峰会 | 昇思MindSpore MoE模型性能优化方案,提升训练性能15%+









