苹果更新专利内容显示可折叠iPhone的样子
2019-02-16 20:12:06AI云资讯778

图1:苹果更新的专利显示了使可折叠屏幕弯曲的不同方式。
据外媒报道,似乎每天都有不同公司开发可折叠手机的传闻和泄密信息。据传闻,小米、华为、LG、联想和摩托罗拉都在研发可折叠手机。
周四,苹果更新了一项专利,其中绘制了一款可折叠iPhone的样子。这是苹果在2011年申请的一项专利的延续。该专利在2016年再次更新,并包含带有可折叠屏幕的iPhone绘图。
苹果现在再次更新专利的时机耐人寻味。2月20日(下周三),三星预计将在发布新款Galaxy S10时披露其可折叠手机Galaxy X的更多信息。
苹果在其专利中添加的新绘图显示了一部对折的手机。摩托罗拉在其更新的Razr手机专利中也采用了类似的方法,以便使手机在不使用时更便于携带。三星和小米的做法似乎更多的是将手机改造成迷你平板电脑。

图2:这两幅图显示的是一个翻盖机型,上图显示向内折叠,下图显示向外折叠。
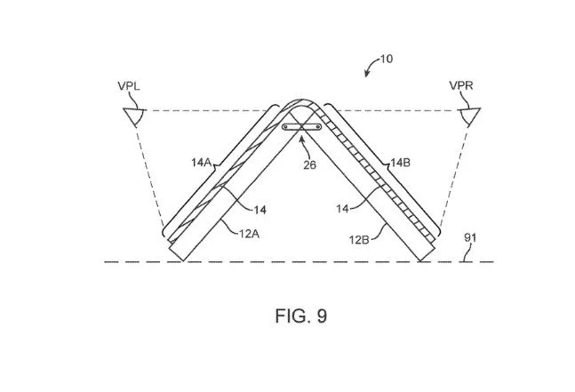
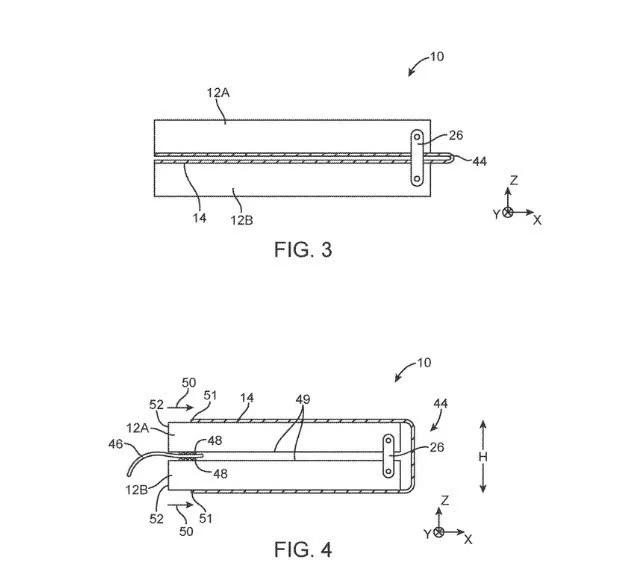
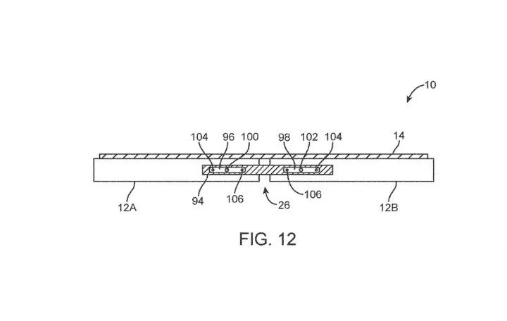
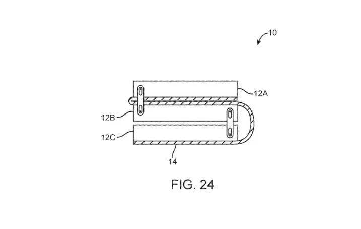
特别有意思的是,苹果展示了在可折叠OLED显示屏周围整合铰链和外壳从而让手机弯折的各种方式。有一张图显示翻盖设计,另一张图显示三折设计。这些图显示了屏幕可以灵活地向内和向外折叠。
这些设计也可能会应用到诸如MacBook或iPad之类的设备中。


图3:这项专利展示了铰链和外壳是如何使可折叠显示屏弯曲的。 图4:另一幅画则显示了三折设计。
苹果没有立即回复记者的置评请求。
苹果专利中的这些新增加的内容并不能保证该公司将会在2019年发布一款可折叠iPhone,但它们仍然令人感到兴奋。
相关文章
人工智能企业
更多>>人工智能硬件
更多>>- 忆联UH812a以极致存力破局大模型载入瓶颈,释放算力潜能
- 讯飞翻译机登陆MWC 2026,同传级沟通体验,多语种交流无压力
- 普恩志引领:2026半导体与高端制造前瞻——核心备件如何驱动产业革新与市场机遇
- 超旗舰降噪,殿堂级音质 索尼双芯超旗舰真无线降噪耳机WF-1000XM6正式发售
- 当AI学会“隐身”,手机才真正智能:三星Galaxy S26系列开启AI哲学的降维打击
- 全球首秀!讯飞AI眼镜亮相MWC,多模态同传大模型与极致轻量化设计 引领智能穿戴新风向
- 全球瞩目!荣耀携Robot Phone、Magic V6系列、荣耀MagicBook Pro 14 2026震撼亮相MWC 2026
- MWC直击:荣耀双旗舰搭载第五代骁龙8至尊版,助力智能手机下一代技术演进
人工智能产业
更多>>人工智能技术
更多>>- 云知声Unisound U1-OCR大模型发布!首个工业级文档智能基础大模型,开启OCR 3.0时代
- 基石智算上线 MiniMax M2.5,超强编程与智能体工具调用能力
- 昇腾原生支持,科学多模态大模型Intern-S1-Pro正式发布并开源
- 百度千帆深度研究Agent登顶权威评测榜单DeepResearch Bench
- 在MoltBot/ClawdBot,火山方舟模型服务助力开发者畅享模型自由
- 教程 | OpenCode调用基石智算大模型,AI 编程效率翻倍
- 全国首个!上海上线规划资源AI大模型,商汤大装置让城市治理“更聪明”
- 昇思人工智能框架峰会 | 昇思MindSpore MoE模型性能优化方案,提升训练性能15%+









