三星6摄像头专利曝光 每个相机传感器可独立倾斜拍摄
2020-06-22 12:26:27AI云资讯706
三星此前推出了多款折叠屏智能手机,也是第一家开发108MP手机相机传感器的公司。外媒SamMobile报道,现在,一项新发布的专利揭示了三星正在使用6个摄像头进行手机拍摄方面的拓展。

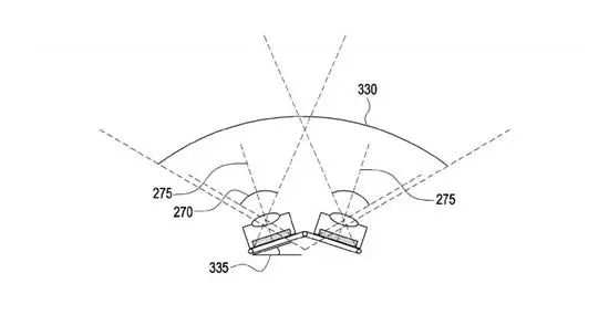
三星去年申请了一项专利,该专利表明该公司的六摄像头智能手机设置包括可倾斜的图像传感器。这份长达55页的专利文件名为“用于操作多台数码相机的设备和方法”,它解释了三星计划如何在广泛的场景中使用五个广角相机和一个长焦相机来提高图像质量。三星还正在开发其他相机传感器的产品。

三星专利中的每个摄像头传感器均可独立倾斜,该功能可用于针对各种场景和更高质量优化摄像头。例如,左侧和右侧的传感器可以朝边缘倾斜,而中央的相机传感器可以设置为保持垂直以捕获全景图像。来自所有传感器的信息可以组合在一起以创建高质量的图像。相机设置还可用于以散景效果拍摄全景场景。
根据三星的专利,带有可倾斜传感器的多相机设置可用于在弱光条件下捕获更清晰的图像。这种设置还有助于在各种情况下获得更好的聚焦范围和更高的动态范围,而这是当前智能手机相机无法做到的。该技术还可用于捕获具有更好图像稳定度和聚焦范围的更宽视频。
相关文章
- 三星发布第三代AI手机Galaxy S26系列:AI进阶,多维体验全面升级
- 三星正式推出全新Galaxy Buds4系列 带来至臻音效表现
- 让AI更懂你所需 三星Galaxy全球新品发布会即将开启
- 超高口碑!细数用户喜爱三星Galaxy Z Flip7的理由
- 三星新品发布会预热升温:由Galaxy AI赋能的创作体验亮相多城地标巨幕
- Exynos 2700预计2026年第四季度推出,全新SF2P工艺有望提振三星非内存业务运营利润
- 三星Galaxy手机:用AI让用户步入智能、便捷、高效的新时代
- 三星HBM4高带宽内存正式进入英伟达Vera Rubin人工智能芯片平台
- 三星宣布HBM4正式量产,速度最高达13Gbps,容量达48GB
- 三星已向高通交付LPDDR6X内存样品
- 三星Galaxy Z TriFold:以创新形态掀起的折叠屏体验革命
- 三星携手国际奥委会 助力青年筑梦未来
- 三星显示拟扩大对苹果可折叠OLED产能的投资,为iPhone Flip推出做准备
- 身临其境感受精彩:三星 Galaxy 助力捕捉 2026 年冬奥会开幕式盛况
- 三星“开放才能共赢”主题营销活动登陆米兰
- Galaxy S27 Ultra或将搭载三星Polar ID技术,比Face ID更先进
人工智能企业
更多>>人工智能硬件
更多>>人工智能产业
更多>>人工智能技术
更多>>- 云知声Unisound U1-OCR大模型发布!首个工业级文档智能基础大模型,开启OCR 3.0时代
- 基石智算上线 MiniMax M2.5,超强编程与智能体工具调用能力
- 昇腾原生支持,科学多模态大模型Intern-S1-Pro正式发布并开源
- 百度千帆深度研究Agent登顶权威评测榜单DeepResearch Bench
- 在MoltBot/ClawdBot,火山方舟模型服务助力开发者畅享模型自由
- 教程 | OpenCode调用基石智算大模型,AI 编程效率翻倍
- 全国首个!上海上线规划资源AI大模型,商汤大装置让城市治理“更聪明”
- 昇思人工智能框架峰会 | 昇思MindSpore MoE模型性能优化方案,提升训练性能15%+









