微软Surface Pen触笔新专利:表面无缝管织物覆盖物
2020-09-07 10:53:33AI云资讯1475
Surface Pen作为微软Surface系列电脑的专用产品一直受到了用户的喜爱,未来这款产品或许将会有些不一样的升级。

微软Surface Pen织物专利(图源来自网络)
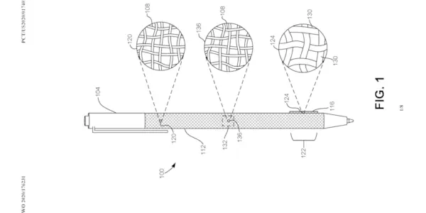
根据近期曝光的微软的工业设计师在2020年2月10日递交的专利,其中描述了一种易于应用的 “TEXTILE COVERING FOR ELECTRONIC DEVICE”,该设计主要面向Surface Pen。

微软Surface Pen织物专利(图源来自网络)
专利公开还涉及了用于电子装置的织物覆盖物和制造用于电子装置的织物覆盖物的方法的实例。其中就包括一种用于电子装置的织物覆盖物,它包括了一种或多种结构纤维所编织成的无缝管,这种无缝管可以围住电子装置的某些一部分。该织物覆盖物还包括一种或多种热收缩纤维和/或一种或多种胶粘剂纤维织成的无缝管。当无缝管被加热到高于阈值温度时,热收缩纤维会收缩,从而使无缝管围绕电子装置收缩。
微软在此前推出的Alcantara覆盖的Surface笔记本电脑上已经表现出对于织物的喜好,微软曾表示,用纺织品覆盖设备可以赋予产品 “视觉上吸引人的外观以及令人愉悦的触感”。
相关文章
- 微软通过月度安全更新对Windows安全启动证书进行升级
- 微软计划利用高温超导材料设计能效更高的数据中心
- 谷歌云客户业务负责人重返微软,出任安全主管
- 微软下一代Xbox游戏主机将搭载AMD开发的半定制系统级芯片,预计2027年发布
- 微软宣布将构建人工智能内容许可合作应用商店
- 微软为Windows 11系统测试顶部菜单栏
- 微软正式发布第二代自研AI芯片Maia 200
- 微软2026年的首个Windows 11更新可谓漏洞百出
- 微软2026年首个Windows 11更新导致部分电脑无法关机
- 传音荣获 CES 2026 微软 AI 创新奖,以实用型 AI 深化新兴市场智能体验
- 社区居民激烈抵制,微软新人工智能数据中心建设受到困扰
- 汉朔科技与微软在既有战略合作基础上深化协作:共筑数字孪生门店新基座,构建零售未来竞争力
- 传音荣获CES 2026 微软 AI 创新奖,以实用型 AI 深化新兴市场智能体验
- 微软将直接在Copilot中嵌入购买按钮,用户能够通过AI聊天对话直接完成购物
- AI办公硬件新标杆:未来智能携viaim亮相CES 2026,斩获微软人工智能创新奖
- 微软CEO萨提亚·纳德拉发表博文探讨人工智能信息垃圾问题
人工智能企业
更多>>人工智能硬件
更多>>人工智能产业
更多>>人工智能技术
更多>>- 云知声Unisound U1-OCR大模型发布!首个工业级文档智能基础大模型,开启OCR 3.0时代
- 基石智算上线 MiniMax M2.5,超强编程与智能体工具调用能力
- 昇腾原生支持,科学多模态大模型Intern-S1-Pro正式发布并开源
- 百度千帆深度研究Agent登顶权威评测榜单DeepResearch Bench
- 在MoltBot/ClawdBot,火山方舟模型服务助力开发者畅享模型自由
- 教程 | OpenCode调用基石智算大模型,AI 编程效率翻倍
- 全国首个!上海上线规划资源AI大模型,商汤大装置让城市治理“更聪明”
- 昇思人工智能框架峰会 | 昇思MindSpore MoE模型性能优化方案,提升训练性能15%+









