摩托罗拉为外置显示屏的翻盖手机申请专利
2022-02-08 10:42:58AI云资讯1489
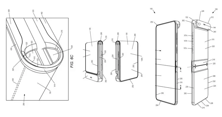
摩托罗拉是最早推出可折叠智能手机的公司之一,但在Moto Razr及其5G型号出现后的近1年半时间里我们没有听到任何消息。现在,该公司现在获得了WIPO(世界知识产权组织)授予的另一项可折叠手机的专利,设备高而窄,像Razr一样但屏幕在外面,可折叠显示屏包裹着它,折叠后形成一个双屏幕设备。

该专利显示,手机顶部留有一个小岛,用于设置摄像头,这意味着屏幕的底部将更短,不难想象这个新的专利设备是Moto Razr和Royole Flexpai的交叉产品。
这意味着机身内部的铰链将是一个全新的解决方案,设计目的在于尽量减少折痕,并允许手机在没有任何缝隙的情况下平齐折叠。如果该设备进入市场,实际机制中会有一些移动部件,允许面板自由弯曲。
科技公司公司经常为那些没有进入商业设备的设计申请专利。然而,这并不是什么晦涩难懂的想法,并且这种设计有一些明显的优势,如果可折叠面板的强大保护玻璃最终出现,我们不需要怀疑摩托罗拉会将其转换成折叠屏手机推向市场。
相关文章
- 摩托罗拉推出新款Razr Plus 2024:重新定义折叠屏手机的未来
- 折叠屏手机moto razr 2022领衔,摩托罗拉三款旗舰新机发布
- 中瑞特、达因瑞康携手发布摩托罗拉MOTOTRBO R7数字对讲机
- 摩托罗拉Maven初探:下一代的RAZR折叠屏机型
- 摩托罗拉为外置显示屏的翻盖手机申请专利
- 摩托罗拉Moto G Stylus发布:自带手写笔、售价不到2000元
- 摩托罗拉正研发第三代Razr可折叠智能手机
- 抢骁龙8首发的小米、摩托罗拉,祝你们成功!
- 人间艺术品!摩托罗拉edge s pro敦煌博物馆联名款发布
- 摩托罗拉edge系列双新机发布:一亿像素主摄+10亿色屏幕 业界最强轻薄旗舰
- 摩托罗拉展示隔空充电技术:可多台手机同时充电
- 摩托罗拉edge s全球首发骁龙870,高效办公“神器”京东1999元可得!
- 摩托罗拉One 5G Ace手机在美发布:搭载高通骁龙750G,售价 399.99 美元
- 摩托罗拉Nio更多规格曝光:前置双打孔屏 骁龙865加持
- 摩托罗拉Moto G 5G现身:搭载骁龙750G 5G处理器
- 双屏双视界 摩托罗拉Razr 5G折叠手机 京东独家线上预约
人工智能企业
更多>>人工智能硬件
更多>>人工智能产业
更多>>人工智能技术
更多>>- 发布即适配| 天数智芯全力支持腾讯混元Hy3 preview 开源落地,共推国内大模型产业普惠
- Seedance 2.0面向企业公测,豆包大模型日均Token使用量突破120万亿
- 端到端OCR模型第一!百度千帆Qianfan-OCR正式发布
- 云知声Unisound U1-OCR大模型发布!首个工业级文档智能基础大模型,开启OCR 3.0时代
- 基石智算上线 MiniMax M2.5,超强编程与智能体工具调用能力
- 昇腾原生支持,科学多模态大模型Intern-S1-Pro正式发布并开源
- 百度千帆深度研究Agent登顶权威评测榜单DeepResearch Bench
- 在MoltBot/ClawdBot,火山方舟模型服务助力开发者畅享模型自由









