苹果新AR专利为提出辅助透镜解决方案
2020-02-04 10:43:52AI云资讯731
苹果研发AR设备已经是一个公开的秘密,有消息称苹果将于2022年推出AR头显,并在2023年为市场带来AR眼镜。另外,公司首席执行官库克曾多次表达出对增强现实技术的看好。
事实上,这家科技巨头一直以来曾提交过多份与之相关的发明专利。根据美国专利商标局日前公布的专利申请,苹果正在构思为存在视力问题的用户提供支持的解决方案。

苹果在名为“Electronic Device System With Supplemental Lenses”的专利文件中指出,存在具有视觉缺陷的头戴式显示器用户,如近视,远视,散光或老花眼。对于所述用户而言,确保头戴式设备中的光学系统合理运行可能具有挑战性,具有视觉缺陷的用户可能很难或不可能正确地关注正在显示的内容。
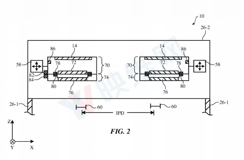
针对这个问题,研究团队提出了一种可移除地辅助透镜系统,并用于定制头戴式显示器设备。
头戴式设备可以包含为用户显示内容的显示器。设备中的头戴式支撑结构可以将设备固定在用户的头部。不可移除透镜系统可以由头戴式支撑结构支撑,并且可以用于将显示器的内容呈现给视窗以供用户查看。
头戴式支撑结构可以配置为承接与不可移除透镜系统对准的可移除辅助透镜系统。磁耦合结构或其他接合结构可用于将辅助透镜系统可移除地耦合至头戴式设备。
可移除辅助透镜系统可用于调整不可移除透镜系统的透镜特性,从而定制头戴式显示器以适应用户的视觉属性。例如,可移除辅助透镜系统可包括与不可移除透镜系统中的左透镜和右透镜对准,并与之相对应的左透镜和右透镜,并且包括散光透镜特性或其他特性,从而供具有散光或其他视觉缺陷的用户使用。

与不同用户相关联的可移除辅助透镜系统可以配置为与头戴式设备一起操作。为了确保头戴式设备可以针对每个用户定制其操作,可以向每个用户的可移除辅助透镜系统提供识别与所述可移除辅助透镜系统相关联的用户信息及其他存储信息。
可以使用条形码或其他光学可读图案,可编程存储器或其他数据存储将所述信息存储在可移除辅助透镜系统中。然后,存储器读取器,注视点追踪系统或其他传感器可用于检索所存储的信息。
存储信息可以包括关于可移除辅助透镜系统的光学特性信息,如眼镜参数的用户信息和/或其他信息。当可移除辅助透镜系统安装到头戴式设备中时,头戴式设备中的控制电路可以获取所存储的信息并且可以采取适当的操作。例如,控制电路可以控制透镜定位器,并根据用户瞳距和其他信息来调整透镜间距和镜头系统的其他操作参数。
相关文章
- 苹果 MacBook Air 展示国产游戏《异环》,M5 芯片运行开放世界画面
- 苹果发布入门级笔记本电脑MacBook Neo,起售价4599元
- 苹果发布M5 Pro和M5 Max芯片:18核处理器采用融合架构
- 苹果发布搭载M5芯片的MacBook Air及升级版MacBook Pro
- 苹果发布搭载M4处理器的新款iPad Air:无线连接能力增强
- 苹果发布iPhone 17e:售价4499元起,3月11日开始发售
- 苹果零售店即将迎来抢购热潮:低价MacBook、iPhone 17e以及新版iPad即将登场
- 苹果CEO库克暗示3月2日将举行新品发布会
- 苹果同意铠侠提出的NAND闪存两倍价格的条款,iPhone定价将面临压力
- 苹果全面改造Siri频频受阻,部分功能或将延迟发布
- 法拉利首款电动车将由前苹果首席设计师乔尼·艾维设计内饰
- 三星显示拟扩大对苹果可折叠OLED产能的投资,为iPhone Flip推出做准备
- 苹果iPhone 17e或将2月19日发布,搭载M5 Pro与M5 Max芯片的MacBook Pro预计3月初亮相
- 苹果为旗下编程工具接入Anthropic和OpenAI智能体功能
- 苹果M5 Pro与M5 Max芯片将采用台积电SoIC-MH封装技术
- 苹果M6芯片或将继续采用N2制程工艺,以控制制造成本
人工智能企业
更多>>人工智能硬件
更多>>人工智能产业
更多>>人工智能技术
更多>>- 云知声Unisound U1-OCR大模型发布!首个工业级文档智能基础大模型,开启OCR 3.0时代
- 基石智算上线 MiniMax M2.5,超强编程与智能体工具调用能力
- 昇腾原生支持,科学多模态大模型Intern-S1-Pro正式发布并开源
- 百度千帆深度研究Agent登顶权威评测榜单DeepResearch Bench
- 在MoltBot/ClawdBot,火山方舟模型服务助力开发者畅享模型自由
- 教程 | OpenCode调用基石智算大模型,AI 编程效率翻倍
- 全国首个!上海上线规划资源AI大模型,商汤大装置让城市治理“更聪明”
- 昇思人工智能框架峰会 | 昇思MindSpore MoE模型性能优化方案,提升训练性能15%+









