苹果公司研究Apple Pencil笔尖适配器 增加力感应按键
2020-05-27 22:47:46AI云资讯1463

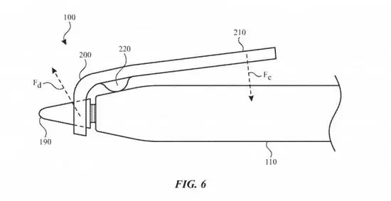
Apple Pencil未来可能会在手写笔上添加一个力感应按钮,苹果正在研究如何在现有笔尖上添加一个适配器,为用户提供这个按钮。苹果在设计Apple Pencil的时候,完全没有设计任何外部按钮。虽然其他触控笔系统提供了按钮,可以进行替代性选择,类似于鼠标上的第二个或第三个按钮,但Apple Pencil用户却没有这样的选项。
如果苹果公司要增加一个按钮,那就必须在下一代Apple Pencil的重大改造中加入,因为现有机身中没有电触点可以增加一个永久性的按钮。有一种可能性是作为临时性的附加功能,它的核心是围绕着压感笔尖,增加类似的功能。



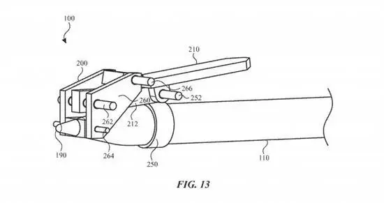
在周二美国专利商标局授予的一项名为 "带输入适配器的触控笔 "的专利中,苹果公司提供了许多可以应用于当前Apple Pencil的附件。虽然提供了多种选择,包括高度工程化的版本和使用支点的简单设计,但其影响笔尖的核心概念仍然是全线不变。
苹果公司的提案是基于这样的想法,即笔尖能够测量压力,无论是在笔尖被压入表面时还是被拉动时,笔尖都能测出压力。当适配器的摇杆或按钮部分受到干扰时,这就会在笔尖上施加一个力,一般是在活动笔尖的高处,这样就不会干扰正常的绘画或书写活动。
通过检测到这第二种力,Apple Pencil 可以判断出该配件正在使用,并可以将其登记为相当于按钮按下或点击的动作。根据配件的运动情况,理论上,它可以将笔尖向外拉,从而为按压按钮本身提供一个力道。
苹果提出的版本包括通过环形部分连接到笔尖的杠杆和支点,通过第二个环形部分连接到笔尖的探针、内置杠杆替代笔尖不连接到机身的版本,以及不连接到笔尖而与笔尖接触的机身连接件等。
此外,还有人建议通过可按压的切口部分在外壳上增加一个按钮,这也是一个可以影响笔尖压力传感器的按钮。这个选项更有可能作为未来型号的一部分提供,而不是作为Apple Pencil的附加组件。苹果公司每周都会提交大量的专利申请,但并不能保证这些概念会出现在未来的产品或服务中。
相关文章
- 苹果的下一代MacBook和iPhone芯片或将采用英特尔的18A-P和14A工艺技术制造
- 苹果将加密RCS聊天功能引入iPhone
- 苹果公司已达成协议,将再次使用英特尔制造的芯片
- 苹果带摄像头的AirPods已进入早期量产测试阶段
- 未能交付AI版Siri,苹果同意向iPhone用户支付2.5亿美元
- 苹果公布2026财年第二季度财报,iPhone营收跃升至570亿美元
- Siri悄然接入Gemini大模型,苹果反成谷歌云2026 Next大会主角
- 苹果继任CEO约翰·特努斯将实现智能家居平台真正落地
- 苹果的继任CEO约翰·特努斯面临的第一个大难题是人工智能
- 库克发布致各界的公开信,感谢苹果粉丝们在他15年任期内的支持
- 苹果首席执行官蒂姆·库克将卸任,约翰·特纳斯接任
- 玄景M6白色AI眼镜消博会首曝,模块化设计抢跑苹果
- 亚马逊以115亿美元收购全球星公司,苹果却成为这场交易的赢家
- 为了抑制因DRAM短缺导致的价格上涨,苹果将对iPhone 18 Pro实施价格冻结
- Meta奏响“百镜大战”热潮序曲,Snap/苹果/微美全息融合AR与AI强势入场
- 苹果无显示屏智能眼镜预计在2027年初首次亮相,或将推出四种不同设计
人工智能企业
更多>>人工智能硬件
更多>>人工智能产业
更多>>人工智能技术
更多>>- 高德发布鸿蒙首个生成式 UI 开源框架 AGenUI,告别传统 UI 开发模式
- 发布即适配| 天数智芯全力支持腾讯混元Hy3 preview 开源落地,共推国内大模型产业普惠
- Seedance 2.0面向企业公测,豆包大模型日均Token使用量突破120万亿
- 端到端OCR模型第一!百度千帆Qianfan-OCR正式发布
- 云知声Unisound U1-OCR大模型发布!首个工业级文档智能基础大模型,开启OCR 3.0时代
- 基石智算上线 MiniMax M2.5,超强编程与智能体工具调用能力
- 昇腾原生支持,科学多模态大模型Intern-S1-Pro正式发布并开源
- 百度千帆深度研究Agent登顶权威评测榜单DeepResearch Bench









