苹果Apple Watch新专利曝光:可通过电池震动来提供触觉反馈
2021-01-29 10:17:19AI云资讯634
据外媒 appleinsider 报道,苹果正在研究如何使 Apple Watch 的电池移动,以便向佩戴者提供触觉反馈。

苹果最新公布了一份 “带有移动电池元件的触觉设备的便携式电子设备”专利,专利申请说:
一般来说,电子设备包括一个或多个用于提供输入的按钮或机电开关。某些设备包括用于接收输入的触摸传感器或触摸屏。但是,触摸传感器通常缺乏机械反馈来警告用户输入已经被响应。
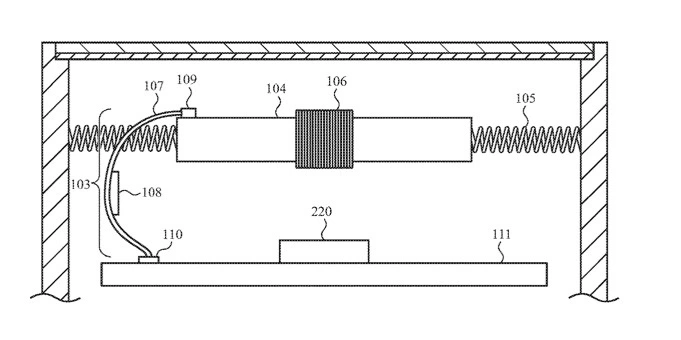
本专利针对一种触觉设备,能够移动其电池元件以便沿着设备的外表面产生触觉上可感知的脉冲或振动。

从专利图中可以看出,该专利利用电池在弹簧之间的震动来制造触觉反馈,目前尚不清楚该方法是否能达到 Apple Watch 所要求的触觉反馈级别。
目前的 Apple Watch 是采用 Taptic Engine(触觉引擎)来实现触觉反馈,需要占用很大一部分空间,如果能由电池震动来替代,那么将有望增大电池容量,继而提升续航时间。

相关文章
- 苹果同意铠侠提出的NAND闪存两倍价格的条款,iPhone定价将面临压力
- 苹果全面改造Siri频频受阻,部分功能或将延迟发布
- 法拉利首款电动车将由前苹果首席设计师乔尼·艾维设计内饰
- 三星显示拟扩大对苹果可折叠OLED产能的投资,为iPhone Flip推出做准备
- 苹果iPhone 17e或将2月19日发布,搭载M5 Pro与M5 Max芯片的MacBook Pro预计3月初亮相
- 苹果为旗下编程工具接入Anthropic和OpenAI智能体功能
- 苹果M5 Pro与M5 Max芯片将采用台积电SoIC-MH封装技术
- 苹果M6芯片或将继续采用N2制程工艺,以控制制造成本
- 鉴于散热性能问题,苹果iPhone芯片采用英特尔先进制程可能性几乎为零
- 苹果计划研发采用翻盖设计的iPhone Flip,拓展折叠屏手机产品线
- 苹果Siri团队高层主管及4名AI研究员离职 人才流失再度加剧
- 苹果史上第二大交易:将以20亿美元收购音频初创公司Q.ai
- 苹果2026财年第一季度总营收1438亿美元,其中iPhone营收达853亿美元
- 苹果计划与SpaceX合作,为iPhone 18 Pro系列添加星链直连卫星功能
- 苹果与DRAM供应商的长期协议到期,iPhone 18系列产品或将涨价
- 苹果iPhone Air在中国销量仅20万台,而iPhone 17系列已达1700万台









