智能手机业务受挫 华为积极布局智能眼镜领域
2021-07-05 09:40:29AI云资讯934
近日,华为一项关于“无线充电眼镜盒”的专利被曝光出来,由此,我们不难看出,虽然华为在智能手机业务上遭遇了挫折,但同时华为也在积极开展其他领域的探索。
目前,智能眼镜产品基本上是通过有线充电来实现充电的,如果继续使用有线充电这一充电方式,就需要在眼镜上设置充电接口。对眼镜这样的设备而言,设置充电接口的空间相对比较狭小,不便于充电接口的设置。
同时,当用户在给智能眼镜充电时,通常需要用户手动精确对位来充电,使得用户充电体验较差。另外,现有的方案中,有线充电接口通常为开放式接口,我们可以看到导电部件(金属连接点)裸露在外,这样的设计也不便于智能眼镜的防水设计。
为此,华为在2019年2月25日申请了一项名为“可用于无线充电的眼镜盒、无线充电眼镜及无线充电套装”的发明专利(申请号:201910138202.5),申请人为华为技术有限公司。
在该专利中,华为发明了一种配置有无线充电的眼镜盒技术,由此可见,华为意图通过无线充电的方式来解决上述问题。根据该专利目前公开的相关资料,让我们一起来看看这项无线充电盒的发明专利吧。

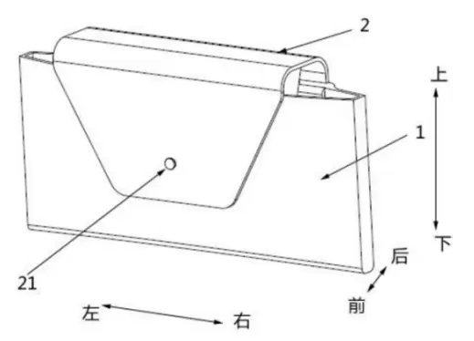
如上图,为该专利中发明的可无线充电的眼镜盒的立体结构示意图,眼镜盒1中除了安置有存放眼镜的空间外,还容纳有N个用于无线充电的发射线圈,发射线圈可以向接收线圈传递相应的功率,从而实现无线充电。并且发射线圈的位置可以灵活地进行调整,以实现和接收线圈的对位。

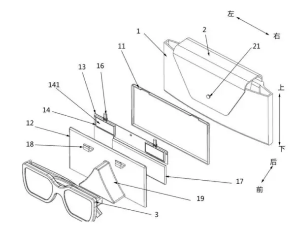
如上图,为这种用于无线充电眼镜盒的剖视图,眼镜盒包括有背面件11和隔离件12,背面件和隔离件被设置为U形槽结构,安置于背面件和隔离件的主体相互平行并相对设置,相互配合形成第一空间(第一空间用于容纳充电线圈),同时,背面件也作为眼镜盒本体的后壁的一部分。
对于隔离件而言,其由对电磁场透明或不影响电磁场穿透的材质构成,例如使用木头、塑料等材料。在第一空间中,设置有多个发射线圈,其通常为空心线圈结构,被设置为矩形、圆形或者椭圆形状。
从上图中,我们还可以看到在第一空间中设置有主板13,主板包括沿x方向延伸的第一滑轨,其可以承载发射线圈,使得发射线圈可以沿第一滑轨再x方向上调整位置。同时,在该专利的方案中,采取了两种可以选择的滑轨设置方案,第一种是只有一条滑轨,N个发射线圈共用一条滑轨;第二种是由N条滑轨,N个发射线圈在各自对应的滑轨上调整位置。
为了方便操作滑轨,在发射线圈上还设置有操作柄16,操作柄从第一空间中伸出,通过拨动操作柄,可以使得发射线圈在x方向上调整位置,以帮助这种配置有无线充电的眼镜盒为不同尺寸的眼镜进行充电。
以上就是华为发明的配置有无线充电功能的眼镜盒,这种眼镜盒可以根据镜框的宽度自动调整用于无线充电的发射线圈的位置,为用户提供了较为方便的无线充电体验。同时,眼镜盒打开时即可与用户的智能眼镜进行连接,无需用户手动发起,减少了用户的等待时间,提高了用户的使用体验。
相关文章
- 联发科2025年第四季度智能手机芯片收入占比达59%,将通过多元化布局谋篇未来
- 苹果以20%的全球智能手机市场份额登顶榜首
- 智能手机制造商拟重新引入microSD卡槽,以应对内存价格上涨
- 三星实现技术里程碑:新型NAND闪存功耗降低96%,完美契合智能手机需求
- 恩施联通营业员:耐心指导,助老人玩转智能手机
- 得一微斩获“中国芯“大奖:智能手机存力主控出货突破1亿颗
- 美光芯片带动移动AI新纪元:G9 NAND UFS 4.1以卓越性能与创新固件,赋能旗舰智能手机边缘智能体验
- 苹果全球智能手机出货量已接近三星 iPhone 17需求飙升有望夺回冠军宝座
- 三星以AI技术定义智能手机的核心价值 重构人机交互方式
- 以AI为引擎 三星Galaxy手机构建智能手机新体验
- AI体验加速普及 三星领跑二季度全球智能手机出货量
- DXOMARK 发布第六版智能手机影像测试基准: 着眼用户真实体验,全面升级评测体系
- 创新驱动旗舰进化 三星Galaxy S25 Ultra获评亚洲最佳智能手机奖
- 传音领跑中东非洲智能手机市场,竞争态势下挑战升级
- 智能手机的新物种:华为阔折叠手机HUAWEI Pura X
- 三星Galaxy S25系列发布:AI驱动的智能手机新纪元
人工智能企业
更多>>人工智能硬件
更多>>人工智能产业
更多>>人工智能技术
更多>>- 发布即适配| 天数智芯全力支持腾讯混元Hy3 preview 开源落地,共推国内大模型产业普惠
- Seedance 2.0面向企业公测,豆包大模型日均Token使用量突破120万亿
- 端到端OCR模型第一!百度千帆Qianfan-OCR正式发布
- 云知声Unisound U1-OCR大模型发布!首个工业级文档智能基础大模型,开启OCR 3.0时代
- 基石智算上线 MiniMax M2.5,超强编程与智能体工具调用能力
- 昇腾原生支持,科学多模态大模型Intern-S1-Pro正式发布并开源
- 百度千帆深度研究Agent登顶权威评测榜单DeepResearch Bench
- 在MoltBot/ClawdBot,火山方舟模型服务助力开发者畅享模型自由









